The U.S. Air Force is exploring new ways to protect aerial refueling tankers and other high-value support aircraft by physically defeating incoming threats rather than trying to jam them or otherwise throw them off course. The service says a “kinetic” self-defense option could provide a valuable last line of defense against anti-air interceptors that might be resistant or even immune to certain kinds of electronic warfare attacks or decoys.
Kevin Stamey, the Air Force’s Program Executive Officer (PEO) for Mobility and the Director of the Air Force Life Cycle Management Center’s (AFLCMC) Mobility Directorate, talked about kinetic self-protection capability in an official interview published earlier this week. The service’s current “mobility” portfolio includes the KC-46 and KC-135 tankers and the C-130, C-17, and C-5 cargo aircraft. Aviation Week was first to report on Stamey’s remarks.

“Some technology that we are really looking at is kinetic self-protection for our high-value airborne assets,” Stamey said. “Because the threat is evolving, we are trying to develop a capability to protect the tanker that is independent of that threat.”
“We consider kinetic self-defense to be sort of a last line of protection. If all else fails and a threat somehow breaks the kill chain, we’ll still have a means to protect the tanker,” he added. “Whether it’s an IR seeker or a radar seeker, if we have a means of taking it out kinetically, we don’t have to electronically attack it or use decoys that are effective against some things, but not others.”
Stamey did not elaborate in the interview on what a “kinetic self-protection” system might entail, but a design capable of launching some type of miniature missile is one especially likely option. The Air Force has already been working on exactly this kind of capability, at least on the experimental level, for years now.
In 2015, an Air Force Research Laboratory (AFRL) project dubbed the Miniature Self-Defense Munition (MSDM) emerged publicly. At that time, AFRL said it was looking for an “extremely agile, highly-responsive” miniature missile with a “very-low-cost passive seeker” and overall length of around 3.3 feet (one meter). For comparison, this is roughly one-third of the length of an AIM-9X Sidewinder, and even shorter proportionally than an AIM-120 Advanced Medium-Range Air-to-Air Missile (AMRAAM).


AFRL initially hired both Raytheon and Lockheed Martin to work on the MSDM program. In 2020, Raytheon received an additional contract for what was described then as a “miniature self-defense missile.” The stated scope of work for the new deal included “research and development of a flight-test ready missile.” This all seemed very much to be a continuation of the previously announced MSDM effort, despite the slight name change. To date, Raytheon does not appear to have shown even a concept for an MSDM interceptor publicly.
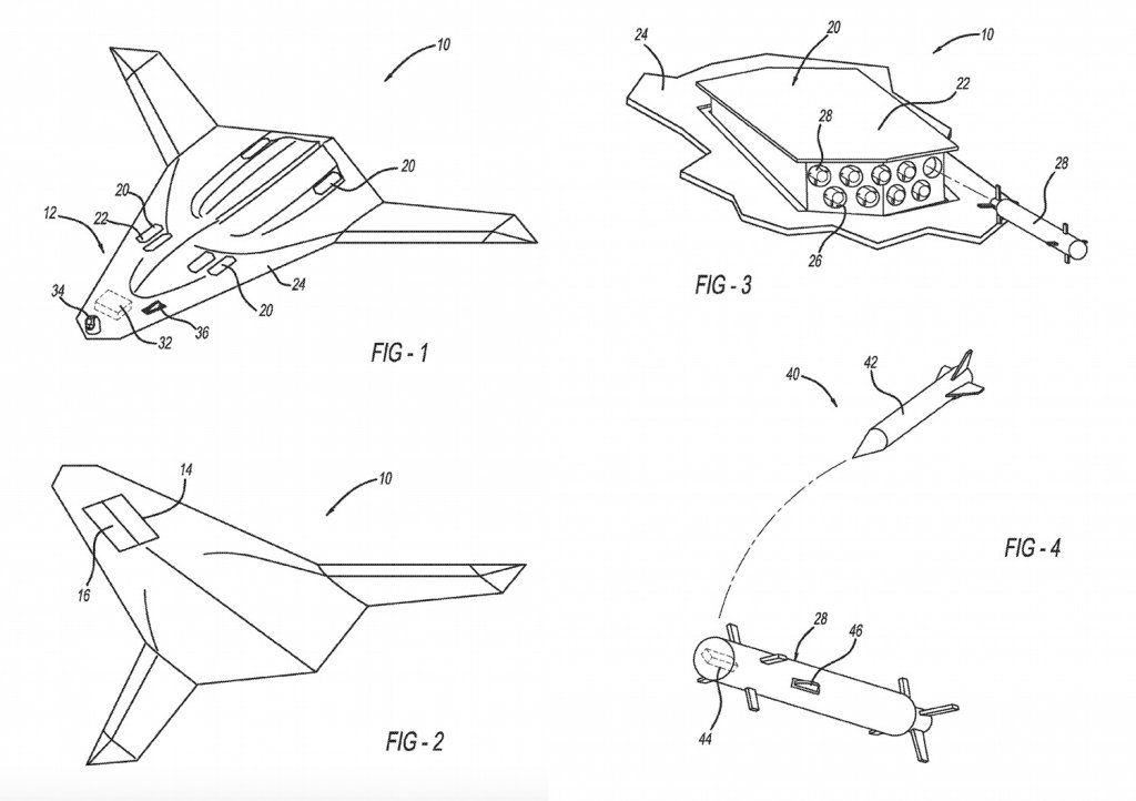
It’s also worth noting that Northrop Grumman received a patent in 2017 for a kinetic aircraft protection system based around a miniature interceptor. Accompanying drawings, some of which are seen below, depicted the system installed on a conceptual “futuristic” combat aircraft. TWZ had explored the potential benefits and limitations of such a system in detail at the time.

In 2018, the U.S. Navy also put out a largely open-ended call for information about potential options for a Hard Kill Self Protection Countermeasure System (HKSPCS) for transport, tanker, and other combat support aircraft. It also suggested the system could be used on future drones. The HKSPCS notice raised the possibility of a system designed to launch a salvo of miniature, highly maneuverable interceptor missiles, and that could offer an “alternative and/or adjunct to more conventional electronic self-protection solutions.”
Other concepts for kinetic self-protection for aircraft have been put forward in the past that do not involve firing a miniature missile at another missile. In 2012, Israeli firm Rafael demonstrated what was essentially an armored vehicle hard-kill active protection system designed to be integrated onto a helicopter. For a time, at least in the 2010s, the U.S. Navy also had a program called Helicopter Active RPG Protection, which seemed centered on a similar, if not identical, concept.

Lastly, in recent years, the Air Force has been testing the ability of its KC-135 tankers to launch small drones for self-protection and a variety of other purposes. Compared to a miniature missile, an unmanned aerial system could offer valuable loitering capability, giving it different options for engaging or re-engaging incoming threats, especially if they are fired in salvos. This, in turn, could help prevent interceptors from being wasted if the target they are fired at initially is destroyed by something else first.
Magazine depth remains one of the bigger challenges facing kinetic self-protection systems for aircraft, as well as platforms down below. An installation on a larger aircraft would open up different possibilities for reloading in flight from within the fuselage. The aforementioned drone launchers that the Air Force has been testing on the KC-135 notably offer that capability through the use of standardized Common Launch Tubes (CLT), which can be loaded with a wide array of payloads.
Directed energy capabilities could also be part of the future ecosystem of self-protection capabilities, which could also help address magazine depth concerns. Laser-based directional infrared countermeasures (DIRCM) systems are already found on tankers and airlifters across the U.S. military, but are designed to blind and confuse heat-seeking missiles, rather than destroy them. They have no impact on radar-guided interceptors. Efforts to develop aerial directed energy weapons capable of destroying targets, including incoming missiles, have faced significant challenges and have yet to produce an operational capability.
The Air Force has also been developing self-protection systems for tankers and other high-value aircraft contained within modified Multipoint Refueling System (MPRS) pods normally used to send gas to receivers via the probe-and-drogue method. Repurposed MPRS pods configured to provide additional airborne communications and data-sharing capabilites are also in service now.
Any kinetic self-protection would also have to be tied to sensors, including infrared search and track systems (IRST) and/or radars, to spot incoming threats, which could be moving very fast, and cue interceptors to engage them. Ever-improving networking capabilities, which are another top Air Force priority for its mobility fleets, could enable the use of a distributed sensor network spread across multiple platforms. The use of loyal wingman-type drones is another area the Air Force has already been exploring to help protect tankers, in particular.
Regardless, the Air Force has clearly identified an ongoing desire for a kinetic self-protection capability for tankers and other valuable support aircraft. Though Mobility PEO Stamey did not explicitly say it in his interview, his remarks certainly hint at concerns that work on new and improved electronic warfare capabilities and decoys are having trouble keeping up with adversaries developing and fielding ever-more capable anti-air missiles.
Weapons that use imaging infrared seekers are notably immune to radiofrequency electronic warfare jamming, as well as radar cross-section-reducing design features. They are also passive in nature, meaning that they don’t pump out signals that can alert aircraft crews to the fact that they are under attack. Increased use of infrared sensor capabilities on aircraft and as part of surface-to-air missile systems only creates further challenges when it comes to detecting threats, let alone responding to them.
Air defense systems that rely on traditional radars have their own ways of creating challenges, including just by modulating the signals they emit in unexpected ways. TWZ regularly highlights the complexities surrounding the need to constantly tune and retune electronic warfare suites as threats change and evolve. The Air Force, among others, has also been pursuing so-called cognitive electronic warfare capabilities to help speed up those processes. The absolute ‘holy grail’ of the concept would be a system capable of adapting autonomously in real-time, even right in the middle of a mission.
Questions about the right mix of active and passive defenses are also likely to be central in the Air Force’s ongoing refinement of plans for future tankers and airlifters.
“We are working on the Next Generation Air Refueling System, NGAS, as it’s effectively known. Put the finishing touches on that last year. And that was a really wide look at how we would do air refueling in the future,” Air Force Gen. John Lamontagne, head of Air Mobility Command (AMC), told TWZ and other outlets at the Air & Space Forces Association’s main annual conference last September. “When I say a wide look, looking at conventional tankers [as] we know it today, you know something like a [KC-]135 or KC-46 as is; something with a bunch of mission systems added to it, with a defense systems [sic], connectivity, intelligence and more; a business jet; a blended wing body; or a signature-managed [stealthy] tanker.”

Central to those discussions is also the expectation that future opponents, especially in high-end fights, will have much greater anti-air reach, including with missiles able to hit targets up to 1,000 miles away. China’s People’s Liberation Army (PLA) has been making especially significant investments in longer-range air-to-air and surface-to-air missiles.
This, in turn, only raises the prospect that critical supporting assets like tankers will find themselves at risk, even if they are flying far from where the main fighting is occurring.
“The [kinetic self-protection] technology is necessary if we’re going to be successful in pushing tankers into what we call the weapons engagement zone,” Mobility PEO Stamey said in the interview published this week. “Our adversaries are building long-range threats specifically to push assets like our tankers further back. They believe it’s easier to target and shoot a tanker than an F-35 or F-47.”
Stamey’s comments make clear that the Air Force is still very interested in making it harder for adversaries to do that by adding kinetic self-defense systems to the mix.
Contact the author: joe@twz.com