We have been talking a lot lately about some cutting-edge technologies that could be incorporated into the upcoming B-21 Raider stealth bomber or in other future stealthy aircraft designs. Seeing as evolving integrated air defense system technology will continue to slowly erode some of stealth’s current advantages, electronic warfare, laser defenses, advanced decoys, and even high speed are potential applications that will bolster the survivability of future American air combat assets. But Northrop Grumman may have another trick up its sleeve—a pop out kinetic kill missile defense system that is especially well suited for installation on stealthy aircraft.
Think of it as something akin to an airborne Trophy active defense system used on armored vehicles, and a SeaRAM close-in weapon system (CIWS) battery used on naval vessels. The patent (#9,671,200) for the concept, which we first learned of from our friend and Americas bureau chief of Flightglobal.com, Stephen Trimble, during a long back and forth about peculiar aircraft models photographed on a Northrop Grumman executive’s desk, was granted in June of 2017. The patent generally describes the “mini missile defense system” as such:
“A missile defense system on an aircraft for destroying threats to the aircraft. The defense system includes at least on miniature guided missile mounted in a launch tube on the aircraft, where the guided missile includes a target acquisition and seeker system. The system also includes at least one sensor on the aircraft for acquiring a target threat, and a controller on the aircraft receiving signals from the at least one sensor. The controller generates a fire control solution that is provided to the at least one guided missile that directs the guide missile once if is fired from the launch tube towards the target threat, and the seeker system on the guided missile acquires the target once it is launched from the aircraft so as to destroy the target.”
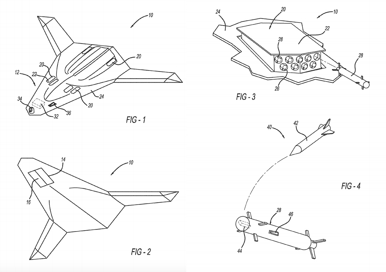
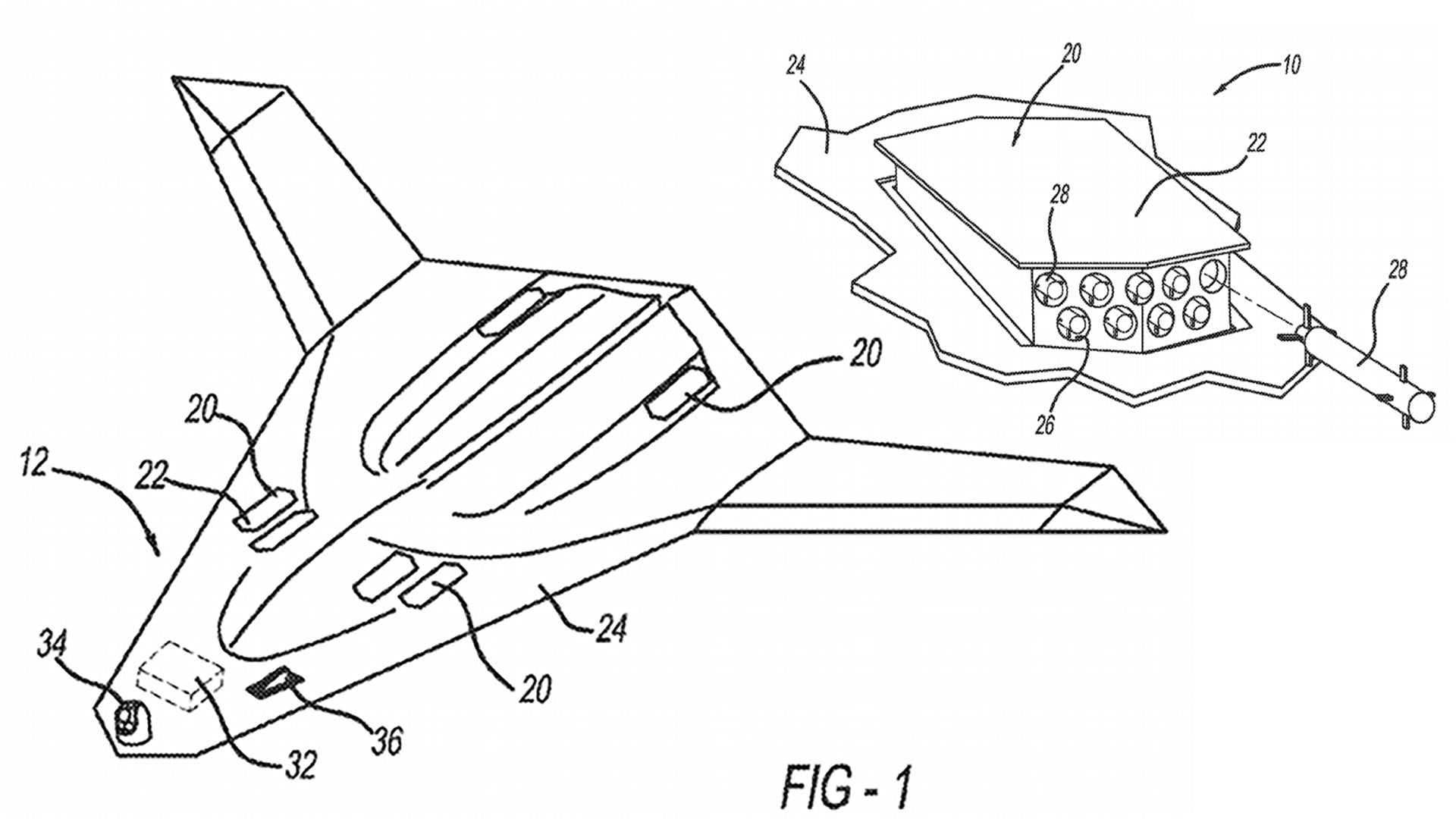
The patent goes on to illustrate what the system would look like installed on an aircraft:

The graphic, which supposedly shows a conceptual “futuristic” combat aircraft, has six pop-out launcher pods with nine miniature defensive missiles each facing both fore and aft (labeled 20 on the graphic). The patent notes that the pods are flush with the aircraft’s skin when retracted.
The Patent also says that initial targeting for the defensive missiles can come from the aircraft’s existing sensors (radar, missile approach warning sensors, DAS etc) and/or a proprietary sensor system. The missile itself would have a radar, infrared, or semi-active laser seeker (most likely a combination of the above, and a passive RF homing seeker is also a possibility) that it would use to lock onto and intercept the incoming threat.
The patent also notes that the system could be used on fighters, bombers, helicopters and pretty much any other type of aircraft. Though the fact that it specifically shows a stealthy “cranked kite” aircraft design (much like one of the models sitting on that Northrop Grumman exec’s desk) and is built to sit flush with the aircraft’s skin underscores its most probable application—equipping low observable aircraft that will fly into the most hostile airspace on the planet with a hard-kill self defense system.
It is possible that the system could also be used to deploy large maneuvering decoys that are capable of actively confusing enemy radar systems and RF missile seekers. Active electronic warfare decoys are becoming increasingly attractive options for providing added survivability to platforms operating near some of the most advanced enemy air defenses in the world. As you can see below, BriteCloud is shown using a similar deployment system. But with Northrop Grumman’s larger mini-missile launchers, similar electronic warfare enabled expendable decoys could add high maneuverability to their capabilities list, potentially making them far more effective.
We have talked in great detail about how new miniaturized hit-to-kill air-to-air missiles are in development, with the aim at increasing the magazine depth of stealth fighters with limited internal weapons bay capacity, but those are short to intermediate range missiles with a traditional air-to-air mission, not very short-ranged ones aimed at close-in defense only. And although these missiles, and even the AIM-9X, may have anti-missile capabilities, Northrop Grumman’s concept is clearly intended to be a last line of defense against a missile approaching during the terminal phase of its flight profile, likely intercepting it hundreds of yards up to maybe a few miles from the targeted aircraft.
The application of solid-state laser technology onto frontline combat aircraft, such as bombers and fighters, is looked at as a potential solution for close-in defense against incoming missiles. But the fact is that the promising technology simply isn’t ready for such an application, and likely won’t be for another decade or more, at least in the tactical form that we are discussing.
Even when the technology is ready, lasers have limitations. They can only engage one threat at a time. Their range and power can be significantly curtailed by atmospheric conditions, such as clouds and smoke. And they aren’t likely be able to provide a 360 degree “sphere of coverage” around a combat aircraft, at least anytime in the foreseeable future. But even if a system could be fitted to a high-flying B-21, giving it good bottom hemisphere coverage, backing it up with a hard kill system capable of engaging threats in any weather conditions and all around the aircraft, makes more sense than not.

This is an issue especially for stealthy aircraft that weave through and around the engagement “rings” of layered anti-aircraft systems to reach their targets or station. In such an environment, threats such as road-mobile SAM system can “pop up” out of nowhere, even after careful mission planning leveraging the latest in intelligence has resulted in a plotted course to the aircraft’s destination that maximize its chances of survival. Roving fighter aircraft and the sharp vision of their pilots is also always a threat.
In every one of these cases a kinetic kill defensive capability like Northrop Grumman’s would be very good to have. It could even fend off a fighter aircraft attempting a guns kill. And even when lasers are ready to be miniaturized in a powerful form for defensive purposes aboard aircraft, having a “hard kill layer” of defense as well would likely improve the aircraft’s survivability drastically.
And as noted earlier, this system could potentially be used for advanced decoys if the miniature interceptors were no longer needed. Finally, a laser system may be able to use the same sensors and guidance system as a kinetic kill system, so there is additional synergistic potential between the two defensive concepts on a development and cost basis as well as on a tactical one.
What’s maybe most intriguing about Northrop Grumman’s patent is that we haven’t seen such a system developed before. It really doesn’t feature any technology that isn’t currently in existence, minus a miniaturized interceptor, but that’s shouldn’t be much of a hurdle developmentally speaking. Other “soft kill” directed energy base defensive systems that use similar targeting systems have been flying on American and allied aircraft for many years and even Russia is introducing the capability now. But considering how advantageous a missile shield around combat aircraft could be, especially those that fly alone in the riskiest of environments or are high-demand, low density nature, it’s strange we haven’t seen this capability developed before. Oddly enough, Russia has implied that it is eyeing something similar for its own high-end bomber fleet.

With the patent being issued just recently, and considering its flush-mounted design, one has to wonder if this concept is intended to wind up on the company’s B-21 Raider. We still know virtually nothing about what technologies are being integrated into the USAF’s new multi-role stealth strategic platform, but the aircraft’s ability to survive even in the most contested environments is of the utmost importance. Other Northrop Grumman projects would undoubtedly benefit from such a system, and who knows, maybe its already flying clandestinely on one of them.
At this point in time it is totally uncertain when we will get more information on the B-21’s features and subsystems, yet alone seeing one in wild. But don’t be too surprised if a short-range missile defense system ends up being part of its package of survivability enhancing systems that will allow it to threaten pretty much any target anywhere in the world, at any time.
Contact the author: Tyler@thedrive.com