Last month, The War Zone reported on a series of strange patent applications the U.S. Navy has filed over the last few years and questioned what their connections may be with the ongoing saga of Navy personnel reporting incidents involving unidentified objects in or near U.S. airspace.
We have several active Freedom of Information Act requests with the Department of Navy to pursue more information related to the research that led to these patents. As those are being processed, we’ve continued to dig through the U.S. Patent and Trademark Office’s (USPTO) Public Patent Application Information Retrieval database to get as much context for these patents as possible.
In doing so, we came across documents that seem to suggest, at least by the Navy’s own claims, that two highly peculiar Navy patents, the room temperature superconductor (RTSC) and the high-energy electromagnetic field generator (HEEMFG), may in fact already be in operation in some manner. The inventor of the Navy’s most bizarre patent, the straight-out-of-science fiction-sounding hybrid aerospace/underwater craft, describes that craft as leveraging the same room temperature superconductor technology and high energy electromagnetic fields to enable its unbelievable speed and maneuverability. If those two technologies are already operable as the Navy claims, could this mean the hybrid craft may also already operable or close to operable? Or is this just more evidence that the whole exotic ‘UFO’ patent endeavor on the Navy’s behalf is some sort of ruse or even gross mismanagement of resources?
Make sure to read our last feature on this bizarre topic to get up to speed on critical background information before continuing on.
The Navy’s patents and their alleged operability
At the heart of these questions is the term “operable.” In most patent applications, applicants must assert proof of a patent’s or invention’s “enablement,” or the extent to which a patent is described in such a way that any person who is familiar with similar technologies or techniques would be able to understand it, and theoretically reproduce it.
However, in these patent documents, the inventor Salvatore Pais, Naval Air Warfare Center Aircraft Division’s (NAWCAD) patent attorney Mark O. Glut, and the U.S. Naval Aviation Enterprise’s Chief Technology Officer Dr. James Sheehy, all assert that these inventions are not only enabled, but operable. To help me understand what that term may mean in these contexts, I reached out to Peter Mlynek, a patent attorney.
Mlynek informed me that the terms “operable” or “operability” are not common in patent applications, but that there is little doubt that the use of the term is meant to assert to the USPTO that these inventions actually work:
“Generally, patent applications are rejected on the basis of enablement more frequently than for operability. The Patent Office rejects patent applications based on enablement because the patent attorney did not describe the invention fully, because either the patent attorney did a sloppy job, or the patent attorney caved to the client’s pressure to disclose as little about the invention as possible.
“Operability/operative, on the other hand, means that the invention actually works. From what I’ve seen, operability rejection comes up in cases where the patent attorney does not really understand the science or technology behind the invention. In many cases, the rejection based on inoperability is a kind of way of telling the patent attorney that the attorney has no idea what he/she is talking about.”
All of these technologies – the room temperature superconductor, the high-energy electromagnetic field generator, and the hybrid aerospace/underwater craft (HUAC) – are inventions of the same NAWCAD aerospace engineer, the aforementioned Salvatore Cezar Pais. Our previous article on the Navy’s patents explored the hybrid craft and whether or not it could be related to other developments such as Navy pilots reporting strange objects in U.S. airspace during training exercises and members of Congress now asking for answers on UFOs.
Salvatore Pais wants to save the world
In a conference paper that Pais presented earlier this year at the 2019 American Institute of Aeronautics and Astronautics (AIAA) SciTech Forum in San Diego, the inventor states that the research that led to all of these technologies was funded by a single Naval Innovative Science & Engineering (NISE) – Basic & Applied Research (BAR) program, titled “The High Energy Electromagnetic Field Generator (HEEMFG).”
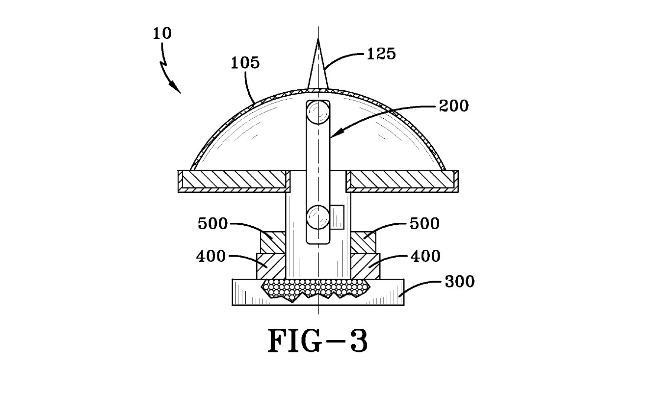
In the Navy’s patent application for the HUAC, it’s claimed that the radical abilities of propulsion and maneuverability are made possible thanks to an incredibly powerful electromagnetic field that essentially creates a quantum vacuum around itself that allows it to ignore aerodynamic or hydrodynamic forces and remove its own inertial mass from the equation. Thus, the ability to generate such high-frequency electromagnetic waves is key to the alleged abilities of this theoretical hybrid craft that can soar near effortlessly through air and water at incredible speeds with little to no resistance or inertia.
In the patent application documents for the HEEMFG, we came across a record of an interview requested by Pais and the Navy as part of the appeal process for the patent’s initial rejection. During this telephone interview, which took place on July 10, 2018, Pais and the Navy’s attorney presented evidence that the high energy electromagnetic field generator was, in fact, operable and was a “formative invention in its incipient stage(s).”

In the patent for the HEEMFG, the technology is described as being able to create what is essentially a force field straight out of science fiction, one that could generate “an impenetrable defensive shield to sea and land as well as space-based military and civilian assets, protecting these assets from such threats as Anti-Ship Ballistic Missiles, Radar Evading Cruise Missiles, Top Attack for Main Battle Tanks (land and sea-based systems), as well as counteracting the effects of solar-induced Coronal Mass Ejections or defending critical military satellites in an ASAT [anti-satellite] role (space based system).”

In his presentation at the 2019 AIAA SciTech Forum, Pais claims that this device could even serve as an optimal asteroid deflector to save the world from 99942 Apophis, a 370-meter diameter near-Earth asteroid which has been predicted to come dangerously close to our planet in 2029 and 2036.

While saving the world from a massive asteroid is without a doubt a worthwhile application of this alleged high energy electromagnetic field generator, the military applications of this supposed technology would give a paradigm-exploding advantage to any military wielding such an impenetrable electromagnetic force field. Is it only a hypothetical technology, though? The inventor and his attorney assured the patent office it is indeed operable, at least to some degree.
Many readers have also questioned whether or not Salvatore Cezar Pais is, in fact, a real person. In our search for information about the elusive inventor, we have found a few mentions in one of his alma mater’s class notes updates, which states that Pais obtained his undergraduate degree in 1990 and a graduate degree in 1993 in mechanical engineering. The Mathematics Genealogy Project, meanwhile, states he obtained his Ph.D. from Case Western Reserve University in 1999.
We also came across this image purporting to depict Pais on a Chinese news blog which covered our original patent story, but we have so far been unable to ascertain its veracity. However, a smaller version of the same picture appears on a U.K.-based book review site under the author name Salvatore Cezar Pais.

Navy CTO claims Pais’ room temperature superconductor is operable
While the HEEMFG sounds like pure science fiction, another one of Pais’ patents may be somewhat closer to reality, depending on who you ask. For years, scientists have sought to create room-temperature superconductors, electrical circuits with zero resistance that generate powerful electromagnetic fields. Most superconductors require incredibly low temperatures, however, making them impractical for most uses outside of laboratories or other carefully controlled environments.
As noted by Pais in his 2019 AIAA presentation, “the achievement of room-temperature superconductivity (RTSC) represents a highly disruptive technology, capable of a total paradigm change in Science and Technology,” and adds that its “military and commercial value is considerable.”
Several recent experiments into room temperature or high-temperature superconductivity have had some preliminary success, which suggests this once-out-of-reach technology could possibly become obtainable with further research. A 2019 Nature article summarizing results with room temperature superconductivity under high pressure states that “it seems more likely than ever that the dream of room-temperature superconductivity might be realized in the near future” and that “experimental data now confirm superconductivity at higher temperatures than ever before.”
Nevertheless, Pais’ room temperature superconductor patent was rejected under 35 U.S.C. 101 because the examiner determined “the disclosed invention is inoperative and therefore lacks utility” and that “no assertions of room-temperature superconductivity have currently been recognized or verified by the scientific community.” That code states that patents will be granted only for “any new and useful process, machine, manufacture, or composition of matter, or any new and useful improvement thereof.”
According to the Manual of Patent Examining Procedure (MPEP) code 2164.07, patents are rejected on these grounds in cases “when the examiner concludes that an application claims an invention that is non-useful, inoperative, or contradicts known scientific principles.”

Following that rejection, Naval Aviation Enterprise Chief Technology Officer Dr. James Sheehy once again stepped in to write a letter to the USPTO personally to vouch for the room temperature superconductor, going so far as to declare that the RTSC is “operable and enabled via the physics described in the patent application” and Pais’ publications. Again, the keyword here is “operable,” which has a different meaning than simply “enabled.”

Sheehy assures the examiner that he is “well versed in the generation of electromagnetic fields, high temperature
super conductivity, and physics in general.” Note, too, the last line: Sheehy’s declaration was made with the knowledge that false statements to the USPTO are punishable by fine or imprisonment.
Sheehy’s letter was accompanied by a statement from Naval Aviation Enterprise attorney Mark Glut in which Glut states that “Sheehy states the invention is operable and enabled, thus overcoming both rejections.”

In a separate appeal document, Glut states that in the case of the RTSC patent, “there is no reason to doubt the truth of the statements contained in the specification” and that the patent office “must provide a factual basis for an enablement rejection, rather than conclusory statements regarding the state of conventional scientific theory.”

Glut goes even further with somewhat of a dig at USPTO examiner Paul A. Wartalowicz, writing that in the case of this rejection, “the examiner turned to perceived mainstream science to indicate the concept was not possible” but that “in this matter, the gatekeepers of science (the peer reviewers of Applicant’s papers) indicated the concept is possible and enabled.”

However, it’s important to note that while many of Pais’ publications were published in peer-reviewed journals, his most recent publication wasn’t actually peer-reviewed. The publication “Room Temperature Superconducting System for use on a Hybrid Aerospace-Undersea Craft” does not appear in a peer-reviewed journal, but was instead presented at the 2019 AIAA SciTech Forum.
On the AIAA’s Abstract Submission Process & Requirements page, it is stated that “All abstracts will be evaluated by qualified individuals from industry, academia, or government. It is recommended to the Technical Program Committee to have the broadest representation of reviewers appropriate for the forum/conference. Exceptions may be made for invited abstracts. Please note that this is a review of abstracts only and that AIAA’s meeting papers are not peer-reviewed.” Thus, the statements made by the Navy attorney aren’t entirely accurate.

In another one of the correspondences between the USPTO and the Navy regarding the Room Temperature Superconductor patent, the examiner writes that “in such instances where the utility of the claimed invention is based upon allegations that border on the incredible or allegations that would not be readily accepted by a substantial portion of the scientific community, sufficient substantiating evidence of operability needs to be submitted by appellant.”

Following that rejection, Pais and NAWCAD’s patent attorney Mark Glut requested a telephone interview that took place on June 6, 2019. According to the USPTO’s public database, the appeals surrounding the room temperature superconductor are still ongoing despite the declarations made by Dr. James Sheehy and attorney Mark Glut.

An intimidating river of mumbo-jumbo and sophisticated babble
After our last article on these bizarre Navy Patents, and the hybrid craft patent, in particular, some readers were quick to point out that like the physicists I have spoken with while researching these patents, they are unconvinced that the Navy may have actually already developed, or even could develop, radical new forms of electromagnetic propulsion or the room-temperature superconductors the patents and their related publications describe as the key component in their operability.
To help contextualize the science or pseudoscience behind these patents and what it may or may not signify, I spoke with Dr. Mark Gubrud, a University of North Carolina physicist who teaches Peace, War & Defense courses and whose PhD is in ultra-low temperature and nanoscale experimental physics. Like many physicists, Gubrud has for years encountered claims of room-temperature superconductors and so-called spacetime metric engineering:
“In the past, I have attended conferences of ‘free energy’ and ‘cold fusion’ cranks, and encountered very similar claims. The claim to have developed, or know how to develop, a room-temperature superconductor is a perennial; so are claims based on some woolly physics to alter space, inertial mass or the laws of motion. One sees these things at the meetings and in the publications that constitute a crackpot hobby industry which is mostly about the vanity of its participants.
“Pais’s patents flow as an intimidating river of mumbo-jumbo that most trained physicists would recognize as nonsense, although many might simply disengage in confusion, and there are always some who might even be credulous. Of what, however, is hard to say, as it is not really clear what Pais is even claiming, apart from the room-temperature superconductor which, if it were true, would be huge news.
“Pais deploys fairly sophisticated babble to make this sound plausible to those who know what real physics sounds like, but don’t understand much of it. Which is likely to include most patent examiners, journalists, and Pais’s own enablers in the Navy.”
I asked for Gubrud’s opinion on why Dr. James Sheehy would vouch for Pais’ patents, to which he replied that it’s likely someone at NAWCAD has been misled or fooled:
“I don’t know why Sheehy defended Pais’s patents. I am certain it’s not because they really make some kind of sense. I suspect the story is just one professional charlatan who has embedded himself in the Naval Air Warfare Center Aircraft Division, plus one or a few supervisors he’s managed to fool. It’s possible, of course, that it is a bigger story which involves some actual ‘experiments’ and expenditure of funds, which is now being protected from scrutiny.”
Ultimately, Guburd believes the patents signify nothing more than “an illustration of the need for transparency and peer review,” but that “even with such niceties, nonsense gets funded, often for political and ideological reasons, or simply out of corruption. But nonsense seems an especially hardy perennial in hierarchical, closed and secretive organizations.”
Weaponizing patents
Despite months of research and FOIA requests, it’s still unclear why the Navy would go to bat so vehemently for these patents which, as another physicist I spoke with put it, “bear no more resemblance to quantum physics as I understand it than does ‘The Force’ from Star Wars.”
If the Navy has indeed managed to develop operable room temperature superconductors and electromagnetic force fields, these technologies would revolutionize warfare in ways not seen in centuries, or maybe even ever, not to mention leading to paradigm changes in civilian technology. Yet the largest question remains: if the Navy indeed possesses these technologies, or even thinks they are obtainable in the near term, why make the patents public?
With all this in mind, it’s certainly possible that these patents are part of some ongoing information campaign designed to make America’s competitors question what types of black budget research is currently underway at NAWCAD and other research organizations. With so many revolutionary new aerospace technologies on the brink of deployment, perhaps this is an attempt to essentially “weaponize” patents and sow doubt among our adversaries and even inject confusion among the American populace.
That scenario seems more likely given the fact that the Naval Aviation Enterprise Chief Technical Officer Dr. Sheehy claimed Chinese advances in similar capabilities as a means of getting the hybrid aerospace/underwater craft patent application approved. The U.S. and China are in a new technological arms race to develop the next generations of aircraft and advanced weaponry. Part of this race includes producing disinformation and misinformation to make your enemy invest resources, both intelligence and research and development related, that are, for lack of a better word, dead-ends.
Being able to explain away strange objects in the sky as UFOs, which may indeed be emerging classified capabilities, is also beneficial both here at home and abroad. Overall, these patents certainly add to an increasingly complex narrative mosaic that is emanating directly from the Navy, one that began just as a new era of so-called ‘great power competition’ was being declared at the highest rungs of the Pentagon’s leadership.
At the same time, maybe this is the Pentagon’s grasping attempt to try to make sense of and emulate mysterious and seemingly highly advanced craft that are supposedly being increasingly observed near its own aircraft, vessels, and installations. Maybe the Chinese competition claim is just a placeholder for the unknown.
It’s also at least worth considering that some breakthroughs in highly exotic propulsion might have been made and that the Navy is willing to invest big bucks into seeing them progress further. Maybe those advances happened many years ago and only now is the Pentagon willing to slowly disclose them. Or all this could be a case of wasteful, misguided, or even downright corrupt spending on ideas that have no real chance of paying off down the line.
The bottom line is that after months of investigation, reaching out directly to the Navy and all those involved, as well filing numerous FOIA requests that will take months or even years to process, there is still so much we don’t know about the technological developments the Navy is pursuing or that it is at least acting like it’s pursuing. The existence of these patents and the underlying documentation we’ve brought to light and examined has only made this case more puzzling, especially in contrast to experts we have talked to who claim there is no way these patents could describe actual working technologies.
One thing is certain, our investigation into these patents and the Navy-funded research that led to them has only just begun.
Contact the author: Tingley.Brett@gmail.com
Contact the editor: Tyler@thedrive.com