The United States Secretary of Navy is listed as the assignee on several radical aviation technologies patented by an aerospace engineer working at the Naval Air Warfare Center Aircraft Division (NAWCAD) headquarters in Patuxent River, Maryland. One of these patents describes a “hybrid aerospace-underwater craft” claimed to be capable of truly extraordinary feats of speed and maneuverability in air, water, and outer space alike thanks to a revolutionary electromagnetic propulsion system.
Sound far fetched? You’re not alone.
A primary patent examiner at the United States Patent and Trademark Office (USPTO) thought so too. But then the Chief Technical Officer (CTO) of the Naval Aviation Enterprise personally wrote a letter addressed to the examiner claiming that the U.S. needs the patent as the Chinese are already “investing significantly” in these aerospace technologies that sound eerily similar to the UFOs reported by Navy pilots in now well-known encounters. This raises the question, are the Chinese developing or even already flying craft leveraging similar advanced technology and is the Navy now scrambling to catch up?
The Wondrous Inventions Of Dr. Salvatore Cezar Pais
The bizarre saga of the U.S. Navy and its sudden willingness to admit that its personnel regularly encounter unidentified objects in the skies keeps getting stranger. Why the sudden shift in policy? What is the motivation for disclosing these encounters to the public? News outlets of all types have for months been discussing the matter, yet we still don’t know exactly what is actually happening here.
Clearly, the narrative is being carefully controlled by the Department of Defense and the Navy. We can only base our speculation on what has been released to the public over the last few years through the media and what is public record. With that said, maybe the most curious additions to the still-developing saga is a set strange aerospace patents filed by one Salvatore Cezar Pais, an aerospace engineer at NAWCAD.
While attempting to dig up as much information as possible about the inventor and these patents, I came across some supplemental documents in the USPTO’s databases that seem to imply that Navy leadership knows that these technologies are actually feasible – or that they want us or someone else to think that they are.
Little information can be found about Salvatore Cezar Pais; he has virtually no web presence. What is known is that he received a PhD in Mechanical and Aerospace Engineering from Case Western Reserve University in 1999 and that he currently works as an aerospace engineer for NAWCAD at Naval Air Station Patuxent River in Maryland – the Navy’s top aircraft test base. Pais has published several articles and presented papers at American Institute of Aeronautics and Astronautics conferences over the years describing his work in electromagnetic propulsion, revolutionary room temperature superconductors, and topics like his PhD dissertation: “Bubble generation under reduced gravity conditions for both co-flow and cross-flow configurations.”
NASA helped fund his dissertation, a copy of which they have on their website here. A full list of his publications can be found here.
The Navy’s Patented Hybrid Underwater Aerospace Craft
Pais is named as the inventor on four separate patents for which the U.S. Navy is the assignee: a curiously-shaped “High Frequency Gravitational Wave Generator;” a room temperature superconductor; an electromagnetic ‘force field’ generator that could deflect asteroids; and, perhaps the strangest of all, one titled “Craft Using An Inertial Mass Reduction Device.” While all are pretty outlandish-sounding, the latter is the one that the Chief Technical Officer of the Naval Aviation Enterprise personally vouched for in a letter to the USPTO, claiming the Chinese are already developing similar capabilities.
The patent was first applied for on April 28, 2016, over a decade after the Nimitz Carrier Strike Group encountered strange Tic Tac-shaped aircraft and nearly a year after Navy pilots across multiple squadrons flying out of Naval Air Station Oceana and NAS Norfolk experienced a string of bizarre encounters with unidentified aircraft, some of which, like the Tic Tac, seemed to possess exotic performance capabilities.
The hybrid aerospace-underwater craft in Pais’ patent, meanwhile, is described as being capable of incredible feats of speed and maneuverability and can fly equally well in air, water, or space without leaving a heat signature. This is possible, Pais claims in the patent, because the craft is able to “engineer the fabric of our reality at the most fundamental level” by exploiting the laws of physics.
The concept is fairly simple, although the engineering required to make it a reality is anything but. All matter contains energy on the quantum level. By theoretically creating its own incredibly dense and polarized energy field, the hybrid craft is claimed to be able to create a quantum ‘vacuum’ around itself which allows it to repel any air or water molecules with which it interacts. Thus, the craft can essentially ignore aerodynamic or hydrodynamic forces, or so it is claimed in the patent.

Hybrid Aerospace Underwater Craft
, A depiction of the hybrid aerospace underwater craft included with the patent application., USPTOThroughout his patents and publications describing the hybrid aerospace underwater craft (HAUC), Pais writes that the radical feats of speed and maneuverability of which the craft is supposedly capable can be achieved by coupling “high-frequency axial spin” or “accelerated vibration” with “high-frequency vibrations of electrically charged systems.”
In other words, if you can a) create a room temperature superconductor capable of storing an incredibly high amount of energy and b) get the energy field created by that superconductor moving at incredibly high speeds around or within the craft, you can create a polarized energy vacuum around it which allows it to basically ignore the energy of the air or water around it, thereby removing its own inertia and mass from the equation.
In his most recent publication, Pais describes the hybrid aerospace underwater craft as a roughly cone-shaped vehicle that would appear round from the front or rear: “the HAUC is conical in configuration, with an elliptical cross-section, similar in geometry to a hypersonic glide vehicle / dart.” Interestingly enough, the descriptions of the craft in several of Pais’ publications and even the patent for “Craft using an inertial mass reduction device” include room for a crew compartment shielded by a Faraday cage.
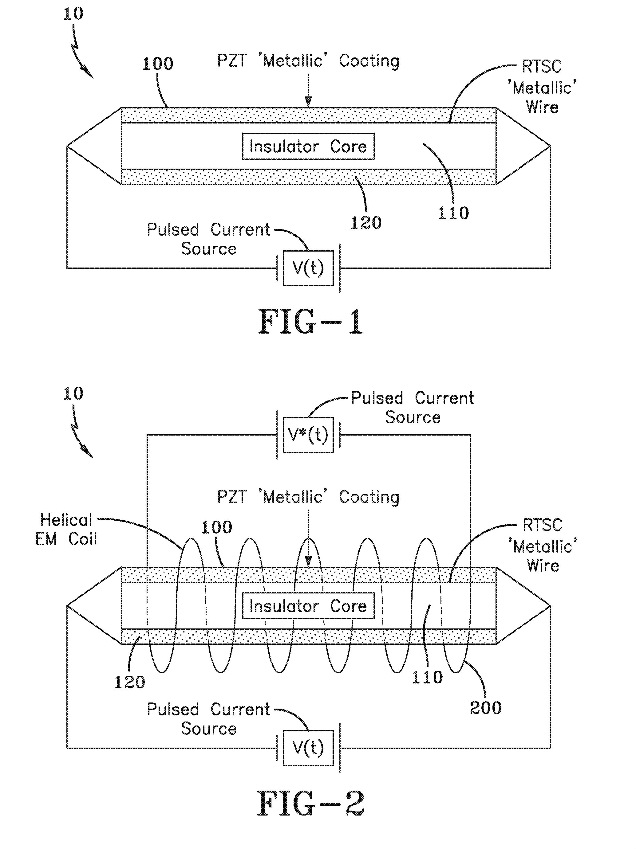
Shortly after the patent for the hybrid craft was approved in 2018, Pais presented another related paper, “Room Temperature Superconducting System for Use on a Hybrid Aerospace Undersea Craft” at the 2019 American Institute of Aeronautics and Astronautics SciTech Forum in San Diego this past January. In the paper, Pais writes that “the achievement of room temperature superconductivity (RTSC) represents a highly disruptive technology, capable of a total paradigm change in Science and Technology,” and adds that its “military and commercial value is considerable.”
The capabilities described in the paper should certainly sound familiar to anyone who’s been following the Navy UFO stories over the last several years:
It is possible to envision hybrid aerospace-undersea craft (HAUC), which can function as a submersible craft capable of extreme underwater speeds (lack of water-skin friction) and enhanced aerial/underwater stealth capabilities (non-linear scattering of RF and sonar signals). This hybrid craft would move with great ease through the air/space/water mediums, by being enclosed in a Vacuum/plasma bubble/sheath, due to the coupled effects of EM field-induced air/water particles repulsion and Vacuum energy polarization.

HUAC with Components
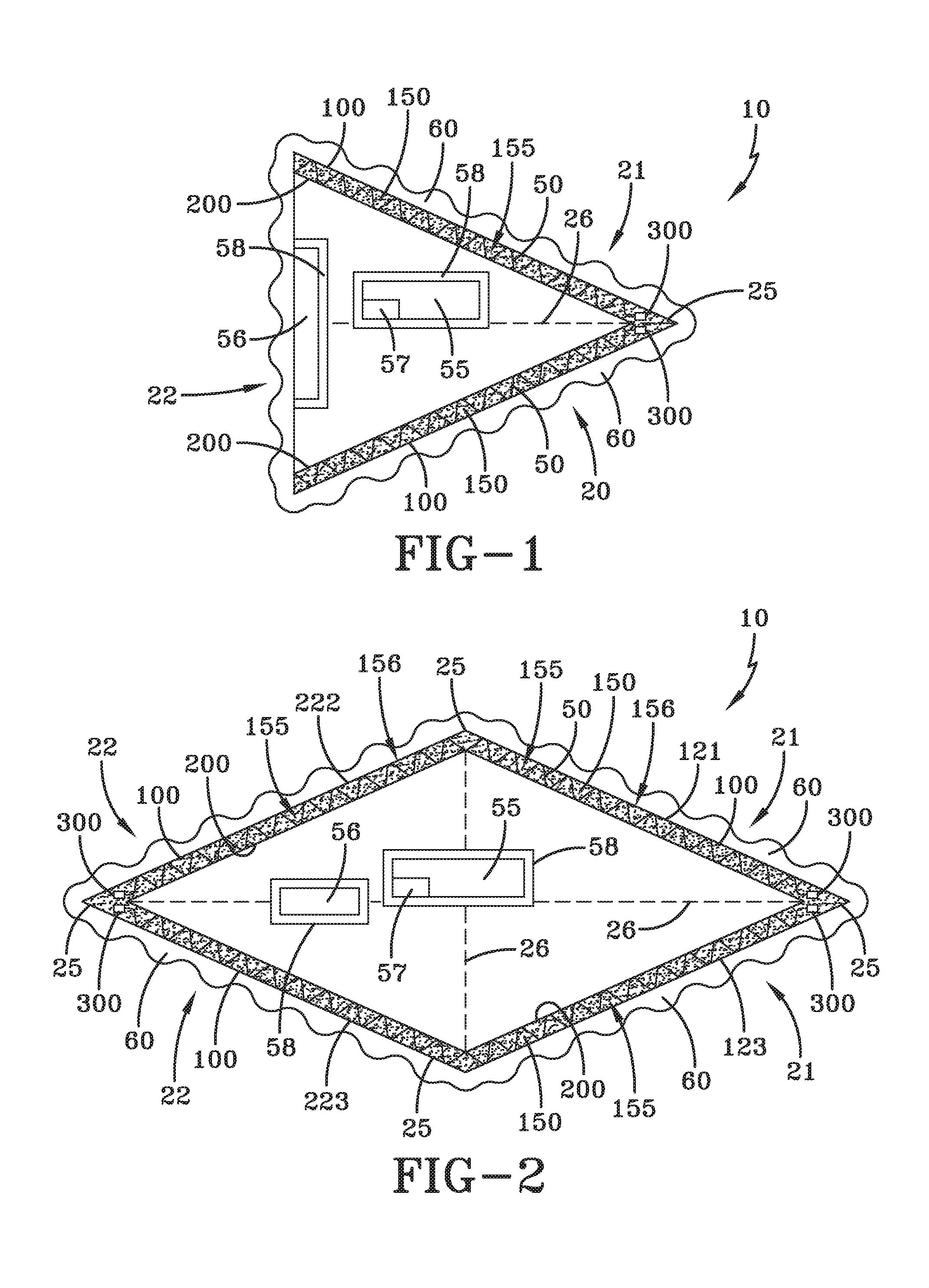
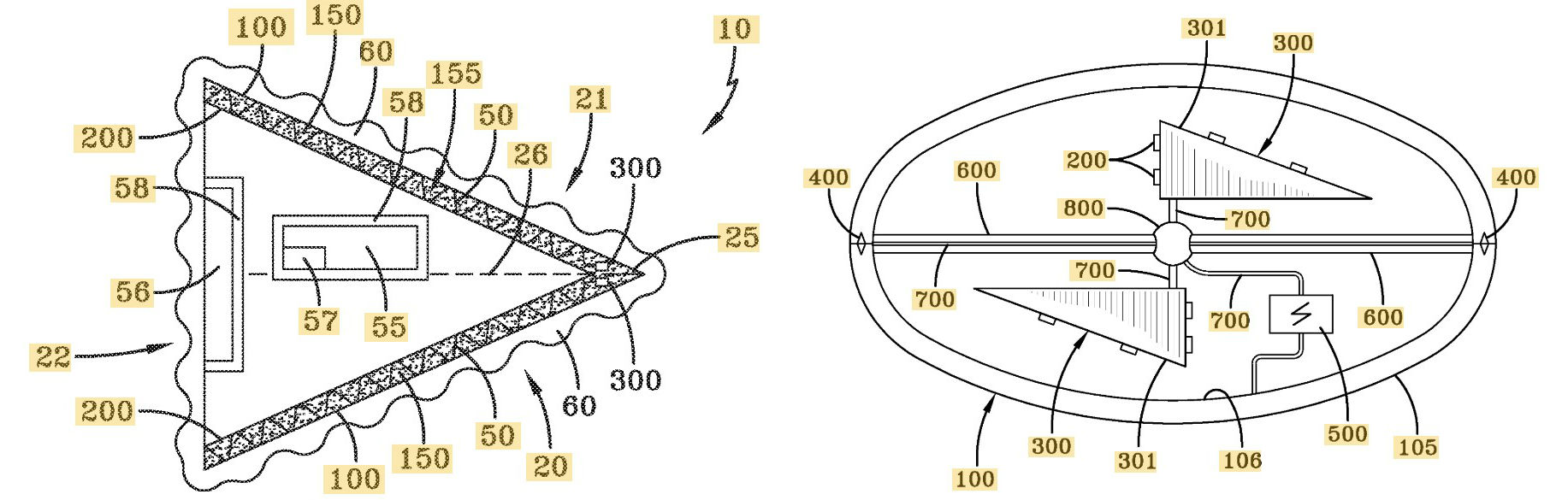
, Images of the craft in the patent application include a descriptions of the various components such a craft could possess such as: microwave emitters (300); a resonant cavity filled with a noble gas such as xenon (150); a crew compartment (55); a Faraday-type cage to protect crew against electromagnetic fields (58); a cargo bay (57); a power plant system (56); and a frustrum, or nose cone, which is “rotatable about its own axis (25).”, USPTOTo help me understand the underlying theory behind the hybrid craft technology described in the patents, I spoke with Dr. Brian Collett, a Hamilton College physics chair who teaches courses in electromagnetic theory and quantum physics. Collett told me that while patents and peer-reviewed articles about theoretical physics are one thing, the descriptions of the HAUC and the claims in Pais’ research “bear no more resemblance to quantum physics as I understand it than does ‘The Force’ from Star Wars.” Moreover, Collett adds, “a working room temperature superconductor would have far more radical uses that are actually within the bounds of possibility” than a hybrid craft that can theoretically create a quantum vacuum around itself.
Other physicists I’ve conferred with have stated the same thing – although most of them refused to go anywhere near on the record concerning the hybrid craft patent based on how outlandish it seems. Why then would the Naval Aviation Enterprise CTO personally vouch for this patent to the USPTO?
The ‘Future State of the Possible’
Just because something is patented doesn’t mean it’s currently in production or even possible. Private entities and the U.S. government both regularly patent forward-looking technologies to ensure that they own the rights to them when or if they’re ever fully realized. The patent for the hybrid craft is set to expire on September 28, 2036.
That being said, the unorthodox circumstances surrounding the approval of this patent have us wondering why the Chief Technology Officer of the U.S. Naval Aviation Enterprise, Dr. James Sheehy, personally vouched for the legitimacy of this beyond-revolutionary aerospace technology in the Navy’s appeal to the USPTO. Sheehy assured the patent examiner in charge of this application that the aircraft propulsion method described in the patent is indeed possible or will be soon based on experiments and tests NAWCAD has already conducted.
While plenty of commenters online have seen the patents and claimed that any old crackpot scientist can attempt to patent crazy-sounding technologies far beyond what is currently technologically feasible, I would hesitate to call the CTO of the Naval Aviation Enterprise working on behalf of the Federal Government a crackpot. Then again, it’s not impossible.
The application was initially rejected by Patent Examiner Philip Bonzell on the grounds that “there is no such thing as a ‘repulsive EM energy field,'” and that “when referring to the specifications as to ascertain about the microwave emitters needed in this system it is seen that for a high energy electromagnetic field to polarize a quantum vacuum as claimed it would take 10^9 [T]eslas and 10^18 V/m.” That’s roughly the equivalent to the magnetic strength generated by most magnetars and more electricity than what is produced by nuclear reactors.
Obviously, the examiner believed it’s impossible with today’s technology to create the insane amount of energy needed to generate the EM field that would propel this craft in the manner described in the patent application. What would be needed to generate such amounts of energy is perhaps the potentially revolutionary room temperature superconductor described in one of Pais’ other patents for which the Navy is listed as the assignee.
Superconductors are materials that can conduct electricity with zero resistance, meaning the electrical currents carried through them never degrade or dissipate like they do in metals, such as copper or silver.

Superconductors also create their own repulsive magnetic fields when placed near magnets, enabling applications like the levitating Maglev trains currently floating at high-speed in Japan and China. Most superconductors today require extremely low temperatures to operate, however, making them impractical for most uses outside of laboratories or large scale industrial applications. Room temperature superconductors for years have been something of a “Holy Grail” of science for engineers, because, once realized, they would open the doors for incredible new forms of power transmission and storage, electric motors, and magnetic levitation devices.
According to documents available to the public at the USPTO website, the Patent Office rejected Pais’ and the Navy’s application for this craft on March 30, 2018. After it was rejected, the NAWCAD’s patent attorney, Mark O. Glut, appealed the decision and submitted further documentation to ensure the patent office that this craft is indeed “enabled,” meaning it can actually be built and can perform as described in the patent.

USPTO Rejection Based on Energy Requirements
, One of the USPTO patent examiner’s grounds for rejection is based on the fact that the energy levels required by the craft are insanely high., USPTOOne of the most compelling items in the collection of appeal documents is the letter accompanying the final appeal written CTO Sheehy concerning the U.S. Patent Office’s rejection of “Craft Using an Inertial Mass Reduction Device.” In the letter dated 15 December 2017, Dr. Sheehy claims that Salvatore Pais has “already begun a series of experiments to design and demonstrate advanced High energy Density/High Power propulsion systems” that are described in the patent.

USPTO Final Rejection
, A notice of final rejection sent by the USPTO prior to receiving Dr. James Sheey’s letter., USPTOFurthermore, Sheehy claims that “the realization of this result demonstrates that this patent documents the future state of the possible and moves propulsion technology beyond gas dynamic systems to field-induced propulsion based hybrid aerospace-undersea craft.”
Have a look at the letter yourself:

Sheehy Letter to USPTO
, Naval Aviation Enterprise Chief Technical Officer Dr. James Sheehy’s letter to the USPTO examiner in charge of the ‘hybrid craft’ patent., USPTOIt’s important to note that Sheehy doesn’t go so far as to say on the record that the Navy currently possesses this technology and instead notified Patent Examiner Philip Bonzell that he agrees that “this mode of acceleration/movement is beyond the state of the possible, at least at present.” Sheehy, of course, adds that “China is already investing significantly in this area” and “would prefer we [the U.S.] hold the patent as opposed to paying forever more to use this revolutionary technology” as he asserts “this will become a reality.”
Remarkably, it seems to boil down to the ol’ “we must not allow an Inertial Mass Reduction Device gap!” Perhaps because of that threat from the Chinese looming, the USPTO finally issued a notice of allowance for “Craft Using an Inertial Mass Reduction Device” to the Department of the Navy on October 31, 2018, at a fee of $1,000 USD. No reason was given for why the patent was eventually approved.
It’s important to note, as well, that U.S. patent law ends at America’s borders. The Navy can patent anything it wants to, but those patents would not necessarily keep a foreign country from developing and patenting similar technologies.
The Dawn Of Electromagnetic Propulsion?
Normally, I would agree with others that these patents are likely just the Navy ensuring that when or if this technology does become available, the U.S. will be able to control it. However, these are not normal times. Thanks to To the Stars Academy (TTSA), the Department of Defense, and the media at large, not only are we now being told that Navy pilots have witnessed aircraft behaving exactly like the craft these patents describe, but some of the pilots’ visual descriptions of those anomalous aircraft even seem to be uncannily similar to the drawings of the aircraft as depicted in Pais’ patents.
One of those patents depicts a curiously and distinctly shaped gravitational wave generator that resembles the Tic Tac-shaped object reported by retired U.S. Navy Commander David Fravor and other Nimitz Carrier Strike Group pilots in encounters that took place in 2004 off the Baja Coast.

Hybrid Craft and Tic Tac Gravitational Wave Generator
, Images from two separate patents: “Craft Using an Inertial Mass Reduction Device,” left; and “High Frequency Gravitational Wave Generator;” right., USPTO.govFurthermore, in regards to claims that these patents may simply be speculative “math theory,” as the patent examiner called them in one of the rejections, it’s important to remember that scientific and engineering research sometimes reach tipping points in which incremental progress made over decades suddenly culminates in large paradigm shifts that bring the theoretical into the realm of the possible. Massive bursts of associated funding also can really help, of course.
The patents appear to draw upon established theoretical research; included in the Navy’s patent appeals and Pais’ most recent publication are references to decades’ worth of peer-reviewed research in room temperature superconductors and macroscopic quantum effects and even notated copies of several studies related to Pais’ research. In the publication, Pais also thanks Naval Aviation Enterprise CTO Dr. James Sheehy “for the many hours of thought-provoking discussions on the concept at hand.”

Pais Acknowledges Sheehy
, Pais frequently acknowledges Sheehy throughout his publications., USPTOInterestingly enough, both Pais’ research and some of his patents also contain acknowledgments to the work of Dr. Harold E. Puthoff, co-founder and Vice President of Science and Technology of To the Stars Academy. Puthoff is an electrical engineer and inventor who has published research on polarized vacuums, but has also been extensively involved with paranormal and somewhat pseudoscientific topics such as remote viewing.
According to their website, TTSA’s goal is to advance “our current understanding of scientific phenomena and its technological implications.” The stated mission of TTSA’s Aerospace division is to find “revolutionary breakthroughs in propulsion, energy, and communication” and the company claims it is “currently working with lead engineers from major Department of Defense and aerospace companies with the capability to pursue an advanced engineering approach to fundamental aerospace topics,” such as Space-Time Metrics Engineering (STME). This is a theoretical concept in which quantum vacuums are engineered as a means of propulsion. It remains unclear how TTSA intends to follow through with and secure funding for these ambitious goals.
In a press release marking the official launch of TTSA on Oct. 11, 2017, former Program Director for Advanced Systems at Lockheed Martin Advanced Development Programs at the Skunk Works, Steve Justice, described how TTSA was working on developing revolutionary “Advanced Electromagnetic Vehicles” that will “dramatically reduce the current travel limits of distance and time” and “mimic the capabilities observed in unidentified aerial phenomenon by employing a drive system that alters the space-time metric.” Without a doubt, these advanced electromagnetic vehicles that TTSA says it plans to develop sound uncannily like the electromagnetic hybrid aerospace underwater craft in Pais’s patent.

TTSA Craft Concept
, Image of a revolutionary craft concept shown during a TTSA livestream presented by former Skunk Works Program Director for Advanced Systems Steve Justice. , To the Stars Academy of Arts and SciencesFew Answers, But Plenty Of Questions
We reached out to NAWCAD for any information or clarification regarding these patents and were referred to Kurt Larson, NAWCAD’s Public Affairs Director. Larson informed us by phone and email that “when it comes to patent applications, [NAWCAD] cannot provide any context outside of the filed patent application documents.” Similarly, USPTO policy states that applications for patents are not generally open to the public, and “no information concerning them is released except on written authority of the applicant, his or her assignee, or his or her attorney, or when necessary to the conduct of the business of the USPTO.”
As striking as the similarity between the claimed capabilities of the hybrid craft and those of the objects described by Navy personnel, it’s still unknown whether these patents are related to the ongoing UFO revelations. As The War Zone has noted in previous articles, there could be multiple simultaneous explanations for these varied incidents and a number of motivations for disclosing them to the public. Perhaps the few pieces of footage that have trickled out over the last several years that some claim to show advanced craft could be the Navy’s way of subtly hinting that this concept actually works and is being tested in the field by either the U.S. or the Chinese. The fact that Sheehy would lean so heavily on the Chinese threat in the last bullet point of his appeal letter to the USPTO seems to suggest that the Navy may already be playing catch-up to a terrestrial foe.
It is also important to note that if the Navy had wanted this patent to remain classified, it could have filed the patent under the Invention Secrecy Act of 1951 (35 U.S.C. ch. 17), a law which allows patents to remain classified if they might pose a possible threat to the national security of the United States. Instead, all of Pais’ patents are currently fully available to the public. If such a propulsion technology was so revolutionary and if the Navy indeed wanted to keep this technology out of others’ hands, it’s curious that they would choose to make the patent public. Maybe the Navy is signaling to its adversaries that it, too, is aware of this revolutionary capability and to whom it belongs.

Unchecked Request Not to Publish
, Navy attorneys chose not to check “Request Not to Publish,” which would have filed the patent under the Invention Secrecy Act., USPTOAlso, consider the fact that Senators, including the vice chairman of the Senate Intelligence Community, have been briefed in recent weeks by Navy officials about the unexplained sightings Navy pilots have reported. Even President Donald Trump recently stated in an interview that the Navy UFO reports could be due the fact that pilots “see things a little bit different from the past,” a comment which could be taken to mean that pilots are witnessing new types of aerospace technology for the first time. Trump seemed to indicate that he does not believe the objects reported by Navy pilots are evidence of anything extraterrestrial and took his interviewer’s UFO question in stride without any apparent surprise, an indication of just how far into the mainstream the UFO discussion has become.
Consider as well the comments made by former Senate Majority Leader Harry Reid of Nevada, reportedly a key figure in securing funding for programs like the now-infamous Advanced Aerospace Threat Identification Program and its associated studies. Earlier this year, Reid stated that the U.S., Russia, and China are currently in a “UFO race.” We know the Chinese have already publicly made major strides in electromagnetic naval capabilities including railguns and aircraft catapults, as well as other highly advanced defense technologies. Could Reid have meant that these three military powers are currently scrambling to be the first to master the technology behind a hybrid aerospace-undersea craft and deploy it on a substantial scale? If so, where does the Navy, and the Pentagon as a whole, currently stand in that clandestine race?
Furthermore, Pais notes in the paper that such a technology “would permit swift movement of the HAUC beyond our Solar System.” Is this an undisclosed reason why we suddenly need a Space Force? Is this what Air Force Lieutenant General Vera Linn Jamieson was referring to last year when she casually dropped during an unrelated interview that in “different galaxies in the future we’re going to actually have capability that we have right now in the air”? And this is hardly the only highly peculiar thing that Air Force leadership has spouted off about in regards to the future of America’s military footprint in space.
It’s also possible that this patent is just another facet of an information operation that goes along with a larger UFO narrative to promote the Pentagon’s undisclosed interests. But the inclusion of China, a very terrestrial potential foe and America’s chief technological adversary, as a direct competitor when it comes to the technology seems odd and even counterproductive if that were the case.
On the other hand, some may say that this could be proof of two superpowers struggling to mimic the capabilities of something they are observing, but do not fully understand on a technological level. Considering all the unknowns, all possibilities are worth examining. But taking the information surrounding this patent at face value, it seems to point further to the possibility that the technology could indeed be manmade.
Note: There is no way to link directly to these supplementary patent application documents. To view them for yourself, visit https://portal.uspto.gov/pair/PublicPair and search for application number 15/141,270. Once there, click on the “Image File Wrapper” tab.
Contact the editor: Tyler@thedrive.com