On January 14th, 2019 Boeing released a series of concept art images showing a very large, high-speed, high-altitude, mothership aircraft and its payload, a reusable air-launched space vehicle. The images are quite interesting for a number of reasons. First off, the setting seems to depict Groom Lake, aka Area 51. Second, they closely match a patent for just such a launch system that was filed by Boeing in 1986 and awarded in 1989. Finally, this concept is pretty much identical to a rumored program that supposedly flew from the base during the last decade of the 20th Century and possibly into the 21st Century. The timing of the patent and concept drawings also correlates with a number of factors that would support the existence of, or at least the logic behind procuring such an exotic space access system.
What we see in the images themselves is a huge mothership aircraft that features at least two types of propulsion. Air-breathing jet engines set in large boxy nacelles and a rocket engine that sits below a high T-style tail. The belly of the launcher aircraft is designed to fit the exact mold-line of a space-launch parasite vehicle. This vehicle appears to be a lifting body delta design with twin tails and a large set of payload doors atop its fuselage, presumably for deploying payloads into low earth orbit. The craft appears to have a heat shield similar to the one found on the belly of the Space Shuttle.

The design of the mothership aircraft is clearly optimized for high speed and high altitude operations while also retaining a large internal volume for fuel storage.

The next image shows how the spacecraft would be lowered below the fuselage and launched while in a high-speed and high-altitude climb:

In another image, the space vehicle is seen recovering on a runway with a T-38 Talon in chase. It’s important to note that windows are present at least on the side of the nose section of the vehicle, indicating that it would have been flown by onboard pilots and not under an unmanned concept of operations.

As I mentioned in the opening of this piece, what makes these renderings even more interesting is that they seem to show this combination of exotic aircraft being flown out of Area 51. The hills in the background and the general details shown match up near perfectly with the clandestine flight test location.
It’s interesting to think that concept art would include such specific details, especially in an age long before Area 51 was as known as it is today or tools like Google Earth existed. The chances of this being some coincidence seem low. Considering the tech being shown and the fact that these renderings remained unreleased for decades, it does make sense that they would show the system operating at its intended base of operations.

The Ford Bronco and the T-38 chase plane also dates the art back to at least the mid 1990s, but more likely the late 1980s. This is quite important because a Boeing patent from that time period describes a very similar space-launch system.
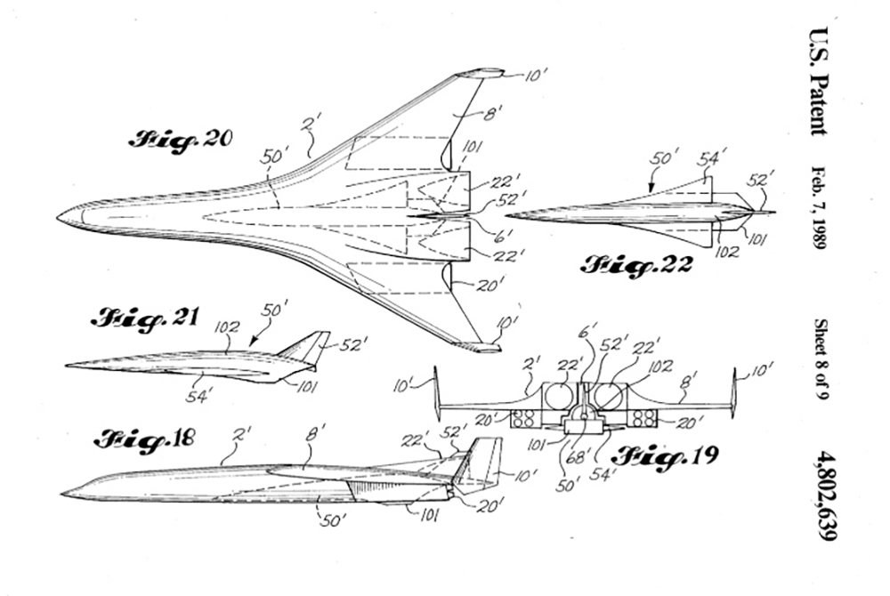
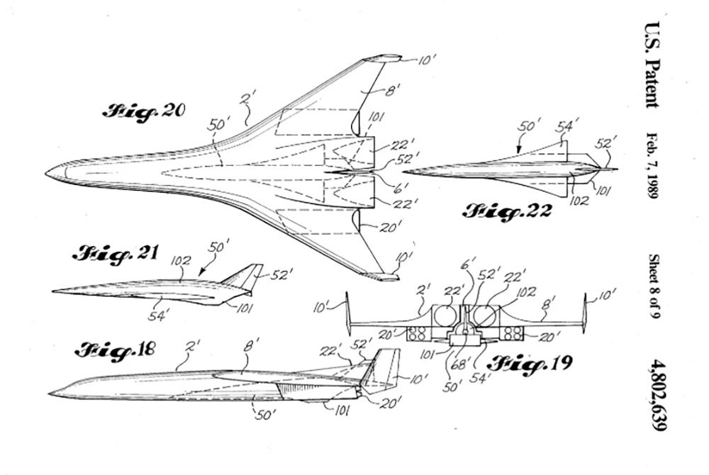
Patent US4802639A that was filed in 1986 and granted to Boeing in 1989 describes its claims as such:
“This invention is directed toward providing a transatmospheric launch system that is essentially totally reusable, provides wide flexibility in choice of orbit, and may be launched quickly on short notice. The system of the invention is a two-stage horizontal takeoff and landing system. An orbiter vehicle is integrated into the underside of an aircraft. Aircraft has a cavity opening aftwardly and downwardly to receive vehicle. Vehicle and aircraft are releasably connected by struts. Aircraft and vehicle proceed to staging conditions under air breathing and then rocket power. Rocket engine of aircraft is throttled to produce a thrust differential with rocket engine of vehicle. This differential causes vehicle to automatically pivot away from aircraft on struts. After pivoting out of cavity, vehicle is disengaged from struts and proceeds on its own to orbit. Aircraft makes a conventional landing. Following reentry, vehicle makes an unpowered horizontal landing. Separation is accomplished at a Mach number of about 3.3. In a second embodiment, the main engine of the orbiter is a scramjet instead of a rocket.”




The patent goes on to talk all about why such a system is attractive over traditional rockets, including its attributes of reusability, unpredictability, flexibility, scheduling, turnaround time, infrastructure requirements, access to multiple orbits, and cost. It also delves into great detail about how the system would work, including the use of jet and liquid hydrogen and liquid oxygen fueled rocket engines on the mothership, and similar rocket engines on the space vehicle.
What’s especially interesting is that another vehicle option is discussed in the patent—a hypersonic vehicle that uses a scramjet engine. The patent even shows the cutaway of a scramjet engine for the secondary payload aircraft and a drawing of that aircraft itself. It looks very much like a hypersonic airplane concept as we have come to know them, one that is far sleeker than its rocket-powered stablemate. So, one would infer that this system could be used to launch very high-speed suborbital flights and even flights well within the earth’s atmosphere as well as space launch missions.


The Patent also discusses how the mothership could tank the spacecraft to replenish its fuel during pre-launch ascent and especially how utilizing an under-body carrying system makes mating the vehicles far easier than an over-fuselage mounting configuration. This design attribute also means many more airfields could be accessed by the system with minimal infrastructure requirements. But overall, we are talking about a multirole concept here that could haul larger stuff into space and potentially send a hypersonic craft on an unannounced overflight of overseas locales or even inserting small payloads into orbit.

Boeing’s patents also date to a time when the U.S. military is rumored to have been developing a two-stage-to-orbit system, like the one seen in the Boeing patent and renderings. This supposed system has been associated with a number of purported program codenames including Brilliant Buzzard, Snow Bird, Big Bird, and Blue Eyes and has been linked to the near-mythical Aurora aircraft. The U.S. military had already been interested in reusable space plane concepts for decades by this time, with the X-20 Dyna-Soar being among the earliest and most notable projects. The X-20, however, used a traditional rocket booster to get into orbit.

There were other concepts that came and went throughout the Cold War as well. In fact, there are still classified elements of the A-12/SR-71 Blackbird family’s history, which could have been related to a possible space launch concept using a similar configuration as seem with the M-21/D-21 combination.

The massive runway at Area 51 that would have been ideal for supporting such a heavily laden and high-speed, high-altitude optimized aircraft was upgraded in the latter 1980s. The runway was extended to the south by some 5,000 feet, which made it nearly 24,000 feet long, all including the northern runoff area. This extension was supposedly made partly due to winter flooding issues on the lakebed portion of the northern runway extension, but there were likely operational requirements that also prompted the construction project. The timing of this project would match with the possible advent of a high-speed mothership space launch system.

Brilliant Buzzard, or any of the other reportedly associated programs, along with Aurora itself, have also been linked to a history of unexplained sonic booms, strange rumblings in the sky, and reported sightings of a large, high-performance mothership plane in California and Nevada throughout the 1990s. The most common descriptions of the aircraft from purported sightings claim it was white or light gray, had a large delta-wing planform, featured rectangular underwing engine nacelles, forward mounted canards, and vertical wingtip stabilizers. Overall, the aircraft was somewhat reminiscent of the abortive North American XB-70 Valkyrie supersonic bomber. This led some to dub the rumored plane the “Super XB-70.”

The reported sightings and rumblings over Southern California in the 1990s became so pronounced that both Aviation Week and Jane’s reported on the phenomenon, as well as many local outlets including the LA Times. Many of the deep booms emanated from off the Southern California coast where the military controls a vast training and testing range complex—a near ideal launching area for such a system. Others centered around the Mojave Desert, in the heart of flight test country and home to Edwards AFB. But there remains no conclusive evidence that a top-secret spy plane or mothership/space vehicle combination was the culprit. At the same time, the Air Force blamed some of the sonic booms on F-4 Phantom fighter jets operating in the area, but this explanation didn’t account for anywhere near all the reports.

Fast forward to the new Millennium, in 2006, Aviation Week reported on the possible existence of another two-stage-to-orbit system supposedly named Blackstar. It purportedly consisted of a large delta-winged supersonic mothership aircraft, notionally dubbed the SR-3, and an eXperimental Orbital Vehicle (XOV).
Beyond also having a delta wing planform, the description of the SR-3 was significantly different from the purported configuration of the Brilliant Buzzard. Namely, the SR-3 carried the XOV underneath rather than on top of its fuselage, according to Aviation Week. This is the same unique trait seen in the Boeing patent and renderings.
In a typical mission, the SR-3 would lug the XOV up into the stratosphere to an altitude of around 100,000 feet, according to the article. Once there, the space vehicle’s rocket motors would boost itself either to the edge of space or into orbit proper, depending on its payloads and mission profile.
After the mission was over, the XOV would glide back to earth and be able to land on a conventional runway. Aviation Week and subsequent reports posited that the space vehicle could be useful for extremely high-altitude intelligence-gathering missions over denied areas, providing more flexibility than a traditional spy satellite and the element of surprise.
The system would have offered a way to rapidly place satellites in orbit in case they were destroyed or otherwise rendered non-functional during a conflict and it would have also furnished a more clandestine and unpredictable way to insert payloads into orbit. There was also a possibility that it could have carried some sort of weapon system, either for attacking targets in space or on the ground.
As with Brilliant Buzzard, there remains no official confirmation of this program. Aviation Week reported at the time that the Air Force had said it was unaware of any such program, leading to speculation that an intelligence agency, such as the super-secretive National Reconnaissance Office, might be the space vehicle’s actual operator.
The fact that the Air Force did not necessarily claim the purported Blackstar at the time does not necessarily indicate it doesn’t or didn’t exist, even if only in concept, either. In January 2018, SpaceX launched a satellite called Zuma that Northrop Grumman reportedly built for a U.S. government agency. There is no question that that satellite exists, or at least existed, but both the Air Force and NRO have said it didn’t belong to them.
This satellite could be part of a test program and still be contractor owned and operated, which could further obscure the U.S. government entity behind the program. Aviation’s Week’s 2006 story includes certain details that could point to this being the case with Blackstar, as well. Alternatively, the USAF may have just decided to deny the existence of what would have been a highly sensitive program.
Aviation Week’s Blackstar story received some criticism at the time of publishing. Pieces in both Space Daily and The Space Review were particularly skeptical of the content and cited Aviation Week’s record of “revealing” non-existent advanced aviation projects in the past, such as claims about a Soviet nuclear-powered bomber in the late 1950s.
But what is known now for certain is that during the 1980s and 1990s, the U.S. Air Force, the Defense Advanced Research Projects Agency (DARPA), and NASA did explore the potential of both single-stage- and two-stage-to-orbit systems as part of at least four publicly acknowledged, named programs. These were Science Dawn, Science Realm, Have Region, and Copper Canyon.
The last of these projects may have directly led to the Rockwell X-30 National Aero-Space Plane (NASP). That was real, but highly ambitious single-stage-to-orbit space vehicle program, before its cancelation in 1993.

Having a functional reusable space vehicle to rapidly deploy satellites would have fit especially well with the Reagan-era Strategic Defense Initiative’s final space-based missile defense proposal, known as Brilliant Pebbles, which first emerged in 1987. This plan envisioned a massive constellation of small satellites each containing a small kinetic interceptor.
The concept of operations would have required the quick deployment of additional interceptors in the aftermath of an attack to ensure continued protection against subsequent waves of missiles. The sensor layer of this proposed missile defense system was known as Brilliant Eyes and the use of the first word “brilliant” for both of these programs could potentially point to a connection with Brilliant Buzzard. A two-stage to orbit space-launch system based on a mothership concept seems like it would have been an ideal match for this program’s lofty goals, if not the only potentially attainable option at the time.

In addition, while the U.S. military and Intelligence Community have certainly been interested in reusable space planes for decades, the desire for a new system would have become much more pronounced after the Space Shuttle Challenger disaster in January 1986. Between at least 1982 and 1992, multiple Space Shuttle missions carried classified U.S. government payloads, reportedly including spy satellites.
This had been part of the Space Shuttle plan all along and the orbiter’s cavernous payload bay had reportedly been designed specifically to accommodate the KH-9 Hexagon spy satellite. Just months after the Challenger incident, the final KH-9 mission failed, with the expendable Titan 34D booster rocket exploding after launch and destroying the payload. This event would have only created additional impetus for a new, more flexible system for satellite deployment.
The Challenger disaster was also largely to blame for the Air Force’s decision to mothball Space Launch Complex 6 at Vandenberg Air Force Base in California in 1987. The service would completely terminate plans for exclusive Space Shuttle operations not long after. This would have freed up funding for other space launch initiatives, possibly including an experimental two-stage-to-orbit system.

Also, if the mothership aircraft was also capable of boosting a high-speed scramjet equipped aircraft to launch speed as Boeing’s patent clearly states, its development could have helped build the case for the retirement of the SR-71 Blackbird in 1990. The reactivation of a small Blackbird force in 1995 also pairs somewhat with the period of highest activity of the supposed craft.
Whether or not Brilliant Buzzard, Blackstar, or any of the other reported mothership-based space-launch programs or reusable space vehicle initiatives actually produced flying aircraft and space vehicles, the U.S. military interest in such systems has hardly waned. In recent years, multiple programs of a similar nature have been officially confirmed, not to mention the Boeing’s operational X-37B.

In 2017, DARPA hired Boeing to develop the new XS-1 hypersonic space plane, which has the stated mission of being able to rapidly deploy small satellites. Both the X-37B and XS-1 use a traditional rocket booster to get into orbit rather than a mothership aircraft, though. This drastically limits their flexibility when compared to a two-stage to orbit mothership concept.
But in 2016, the Air Force Research Laboratory (AFRL) did indicate that it was still looking at two-stage to orbit concepts, as well. This new proposal returned to a configuration with the smaller orbital vehicle sitting on top of a high-speed mothership aircraft based on a U.K. based company’s concept known as Skylon. The Air Force and NRO are also sure to be watching developments in the private space sector very closely.
All of this makes good sense. The U.S. military is in the midst of both expanding its space-based capabilities and coming to grips with the growing array of threats to those assets. As we at The War Zone have highlighted repeatedly, Russia and China, in particular, have been developing a variety of anti-satellite weapons in order to challenge the United States’ long-held advantages in space-based communications and networking, navigation and weapon guidance, early warning, intelligence gathering, and more.
As we mentioned earlier, at present, programs such as DARPA’s XS-1 are specifically focused on providing options to quickly replace lost or otherwise disrupted space-based capabilities during a crisis, as well as increasing access to space for military purposes overall. Though the U.S. military and Intelligence Community have had a decades-long interest in two-stage to orbit mothership-centric concepts, making that capability a reality would be increasingly a priority now, if it doesn’t actually already exist in one form or another.

There is also some potential evidence that a new mothership space-launch concept may be deep in development, or that an old system has been revived. The new massive hangar at Area 51 has dimensions and features that would make it ideal to house just this type of aircraft as I have discussed before in the past. Even the remote position of this hangar seems ideal for a highly classified project that features a very large and oblong aircraft that uses especially volatile fuel. It’s also worth noting that since that hangar was built, some reports of strange rumblings in Southern California have popped up again.
All this may seem to build a somewhat compelling case that an aircraft like the one in shown in Boeing’s patent and artwork actually exists or existed. Certainly, the confluence of events in the latter half of the 1980s really seems like the perfect breeding ground for such a concept to be pursued. But we have no hard proof this was indeed the outcome. The truth is that the evidence remains largely circumstantial.
It’s probably safe to assume that if a Brilliant Buzzard or Blackstar did become a reality, it either failed to produce the results that were expected of it, or it was sacked due to fiscal reasons, which is quite likely if this thing was born in the Reagan era and fought for its life in the post-Cold War military draw-down of the 1990s. And even if it did exist, it would have been an entirely experimental vehicle, or at best a very low density, high-value and highly classified asset, never really making it out of a semi-operational state and into larger production.
It’s somewhat intriguing to think that once again we are in a near-perfect threat environment for such a concept to flourish into existence. And the strange nature of the new hangar at Area 51 does point to this possibility. With all the fiscal weight the Pentagon is now putting behind flexible space launch, hypersonic capabilities, and time-sensitive strike and reconnaissance, it’s almost a bit hard to imagine that companies like Boeing aren’t dusting off their old plans—or even old planes—and applying 30 years of technological advancement to them in an attempt to make the Air Force’s dreams come true.
Contact the author: Tyler@thedrive.com