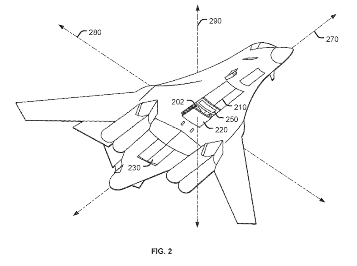
A B-1B Lancer ‘gunship’ may sound like something a kid doodles on his desk during a 4th-grade math class, but Boeing has actually been awarded a patent for just that.
U.S. Patent 9,963,231 B2 was awarded on May 8th to Boeing. It depicts a number of cannon configurations that can be stowed in a B-1B’s weapons bays and extended down outside of those bays for use. Our good friend and marvelous patent sleuth Stephen Trimble of Flightglobal.com was the first to find the patent.
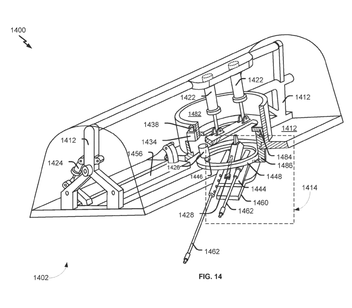
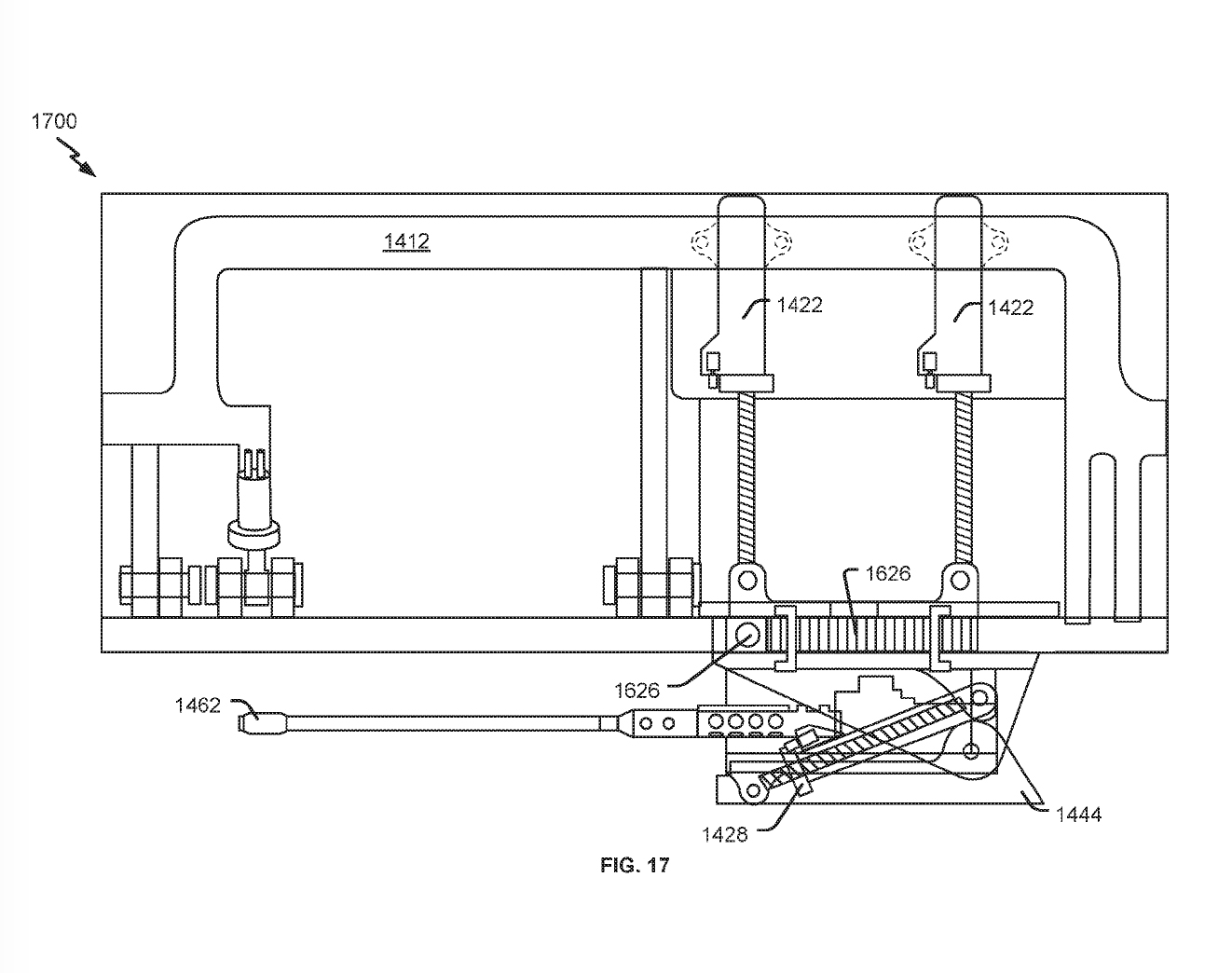
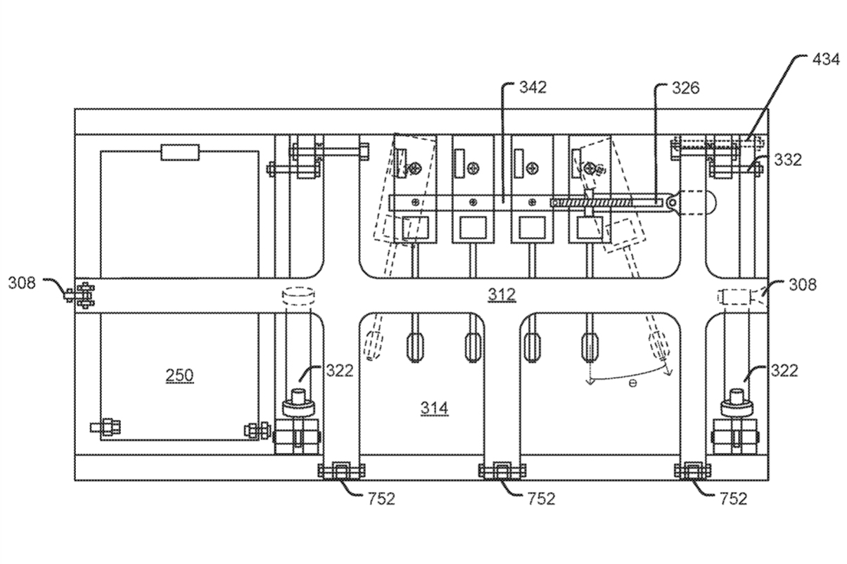
The patent certainly envisions different concepts that could be used to convert the ‘Bone’ into a heavy-hitting gunship without making many if any permanent changes to its existing configuration or outer mold-line. The cannons are shown mounted in various manners with elaborate mechanisms that allow them to tuck neatly inside the B-1B.


One includes a trapeze-like system that is mounted inside the aircraft’s cavernous weapons bays, and when the bay doors open it drops down and is turreted to fire in different directions. The other shows a few variants of a semi-recessed mounting configuration where the guns drop down into a semi-recessed fairing installed on the belly of the aircraft and are fired sideways from that position.




As for the weapons shown, they look similar to M230 30mm cannons as well as the much larger Bushmaster cannon, which can run from 25mms to 40mms in size. One drawing even shows two different sizes of cannons mounted on the same turret side-by-side.
The patent’s description directly refers to using the guns for close air support and ground attack. It also seems fairly clear that these concepts could be applied to any aircraft with a voluminous weapons bay, not just the B-1B. The idea being that these kits could be able to more easily turn existing aircraft into gunships, packing a huge amount of firepower in a small space via compact, mechanized, space-saving designs.

The patent also describes how being able to store cannons inside the aircraft, instead of leaving their barrels hanging out in the aircraft’s slipstream, results in certain benefits. These include the ability to go supersonic while toting around such weapons, increased range, better maneuverability and overall performance, and most interestingly, stealth:

Considering the future realities of warfare in anti-access and aerial denial situations, the idea of a stealthy gunship that can move faster and farther than an AC-130 without its massive radar signature is intriguing. Although stealthy transport and tanker aircraft have been and remain attractive concepts to the Pentagon, the B-1B is now slated to retire by around 2035. Although very complex and costly to operate, the jet is fast, has considerable range, is built to penetrate enemy air defenses at low altitude, and has a degree of low-observability (stealth) baked into its design. With that in mind, maybe Boeing will one day pitch a B-1B gunship in an effort to save a number of the aircraft from retirement.

Such an initiative could also be eventually paired with the arsenal ship concept that seems to have been put on the back burner by the Trump administration. In addition, some of the designs put forward in this patent could also be adapted to field directed energy weapons—as in lasers—in the not so distant future. The B-1B has always been eyed as a platform for a surrogate for such a weapon, even in pop-culture.
As it sits now, the AC-130J will be the first to receive a laser weapon, but the technology is progressing quickly and is certain to spread to other platforms not long after its initial operational iteration debuts. In fact, in a recent interview, Tom Palenske, commander of the 1st Special Operations Wing, described how a tactical laser would be used just as we did a couple years ago, with Military.com Oriana Pawlyk writing:
In the future, AC-130 crews also hope to incorporate a high-energy laser aboard the gunship.
Palenske said the laser will be the ultimate ace in the hole, making disabling other weapons systems easier.
“If you’re flying along and your mission is to disable an airplane or a car, like when we took down Noriega back in the day, now as opposed to sending a Navy SEAL team to go disable [aircraft] on the ground, you make a pass over that thing with an airborne laser, and burn a hole through its engine,” he said.
Palenske was referring to Operation Nifty Package to capture and remove Panamanian leader Manuel Noriega from power in 1989, during which a SEAL team “disable[d] his aircraft so he couldn’t escape.”
With a laser, “it’s just like that. And you just keep going on, and there’s no noise, no fuss, nobody knows it happened. They don’t know the thing’s broken until they go and try to fire it up,” he said.
But it’s also worth pointing out that most of these patents never amount to anything but intellectual property in big defense contractors’ back pockets. Still, a similarly exotic patent we wrote about in the not so distant past just turned into a request for proposal (RFP) from the U.S. Navy, so you never know exactly where these patents could end up or if there is a hard plan in place for them at the time of their granting.
When it comes to adding guns to an aircraft like this, much more goes into it than mechanical storage and employment concepts and there are certainly developmental pitfalls along the way. Just the gun’s recoil can be a major integration factor and targeting architecture is a whole other issue.
But B-1B gunships? Who can’t hope for that, even if in an adolescent kind of way?
Update: 6:45pm PST—
The precision night striker B-57G also explored a somewhat similar concept under the ‘PAVE GAT’ program, here is video of it in action:
Our own Joseph Trevithick also noted that General Electric had a design for mounting a row of miniguns that fired downward out of a weapons bay:

The AP-2H TRIM (Trails Roads Interdiction Mission) Neptune also used downward-firing grenade launchers as well.
Contact the author: Tyler@thedrive.com