Pop Out Seating Kit For Bell 360 Invictus Helicopter Patented

Since Bell first unveiled its 360 Invictus helicopter back in 2019, the company has presented it as a modern armed scout platform. Earlier this month, another division of Bell’s parent company, Textron, was awarded a patent that shows how the helicopter could also be used to transport small numbers of personnel, including wounded individuals, using a modular system tucked into its internal weapons bay.

A picture of the initial 360 Invictus helicopter prototype with a more expected array of mockup stores on weapons racks extending out from its internal weapon bay. Bell

The patent for what is described as a “modular deployable external passenger system for aircraft” was assigned to Textron Innovations on September 12. The application was originally submitted through Bell Textron in 2020. Though commonly known as Bell Helicopter or just as Bell, the company has been a division of Textron since 1960.

The patent does not mention the 360 Invictus, one of two designs currently in the running in the U.S. Army’s Future Attack Recon Aircraft (FARA) competition, by name. However, multiple accompanying diagrams show the system as it would appear mounted on the helicopter. The description of how it would installed is also entirely in line with what is known about the 360 Invictus’ central internal weapons bay.

A diagram depicting four individuals sitting on the now patented modular seating system fitted in the weapons bay of a 360 Invictus helicopter. USPTO

This patent was brought to our attention thanks to user @lfx160219 on X, who also shared computer-generated renderings of the 360 Invictus with this system installed. The War Zone has reached out to Bell for more information.

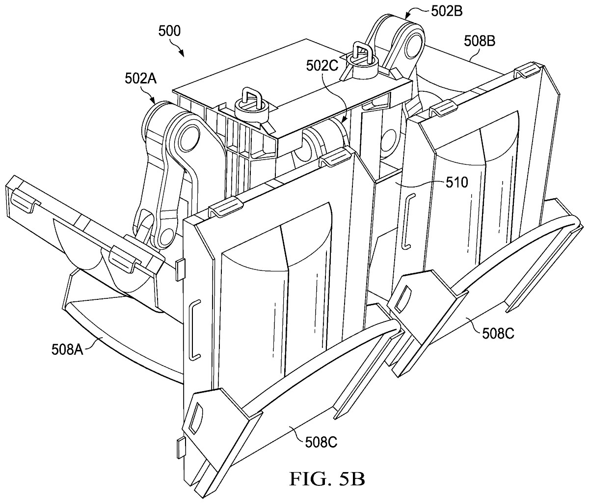
The system “described herein provide a modular deployable external passenger system (MDEPS) that mounts to the bomb release unit (BRU) and air launched effect (ALE) launcher rack,” the patent documentation explains. It “enable[s] such aircraft to carry up to eight passengers (or four passengers and two litters) externally via units that are internally stowable within an ALE cargo envelope when not in use for stowing ALEs.”

A diagram showing what some of the pop-out seats might look like when deployed. USPTO
A pair of graphics showing the deployment concept for a portion of the pop-out seats, as would viewed from the front. USPTO
A graphic offering a better look at the design concept of the jump seats themselves. USPTO

ALE is the U.S. Army’s current term of choice to refer to a planned family of air-launched drones and loitering munitions, including types that can operate together as networked swarms, which you can read more about here. The term is also used, more generally, as is the case in this patent, to refer to air-launched munitions and other systems. BRU is another U.S. military term that refers to the actual racks mounted on fixed-wing aircraft and helicopters to which munitions and other stores are attached.

“A combination of triple joint articulating arms and a pivoting, tracked outer framework are mounted to a structural base frame that hangs from a standard BRU, which may be implemented in lieu of an AGM-114 multiple launcher platform or other similar armament or launcher system,” it adds. “The deploy and stow motion could be optionally actuated manually using a system of pretensioned springs as an assist mechanism, or alternately could be fully independently powered and therefore automatically deployed or stowed.”

A series of graphics showing how the modular passenger system, in this case fitted with a basket for transporting casualties on litters, might be retracted into the 360 Invictus’ main weapons bay. Note the additional jump seats that are retained at the front and back of the system in this configuration. USPTO

The patent shows the need to remove the 360 Invictus’ stub wings on either side of the fuselage when the passenger system is installed. These wings, which are detachable by design, are also designed to provide additional lift to help increase the helicopter’s performance in addition to being able to hold weapons and other stories. Coupled with the added weight and drag of the personnel on either side, their removal can only negatively impact the helicopter’s speed and range, at least to some degree.

Still, the potential use cases of such a system, especially one that can be readily installed and removed, as required, are clear. With the kit mounted, a 360 Invictus could act as a small assault transport, while still retaining its nose-mounted 20mm cannon, sensors, self-protection systems, and other key capabilities. It could also be employed as a casualty evacuation or personnel recovery platform to extract wounded individuals or other personnel in need, like downed pilots.

The 360 Invictus’ ability to perform any of these tasks would be limited compared to purpose-built transport and medical evacuation helicopters, but the ability to provide added capacity when needed could still be very valuable. “Historically, many smaller scout and attack helicopters have not typically included a robust solution for adding passenger carrying capability,” Bell’s patent notes.

That being said, as The War Zone has highlighted on multiple occasions in the past, attack helicopters without purpose-built passenger-carrying capabilities have been used as improvised transports for decades to help out when other more suitable assets are not readily available. Armed helicopters are often faster and/or more agile, better protected, and smaller overall, all of which can help them get in and out of riskier situations, as well.

A Marine Corps AH-1W Super Cobra attack helicopter is used as an improvised transport in Afghanistan, with the personnel seen here riding on the helicopter’s open ammunition bay door. Public domain
A British soldier rides strapped to one of the side sponsons on an AH-64 Apache attack helicopter. Public Domain/UK MoD

A British company called AVPRO even once pitched an Extraction/Insertion (EXINT) pod that attack helicopters like the AH-64 Apache, as well as other aircraft, including the Harrier jump jet and F-35 Joint Strike Fighter, could carry externally like any other store. A single EXINT unit could hold one person.

The EXINT pod loaded onto an Apache attack helicopter. via ThinkDefence

In addition, what Textron’s patent documentation says notwithstanding, many light helicopters on which light attack and armed scout types are based have historically been used as small transports, especially by military and law enforcement special operations units, and for medical evacuation missions. In many cases, additional external seating systems are added for faster insertion and extraction of personnel. This includes variants of Bell’s famous Model 206 JetRanger and derivatives thereof, a family that includes the U.S. Army’s now-retired OH-58D Kiowa Warrior armed scout helicopters. The winner of the FARA competition will finally provide a more direct replacement for the OH-58D.

A picture of an FBI Hostage Rescue Team Bell 407, a derivative of the Bell 206 and the commercial companion to the OH-58D, fitted with added personnel planks on either side of the fuselage. GAO

The Little Birds that belong to the Army’s elite 160th Special Operations Aviation Regiment, which can be configured as small assault transports or light attack platforms – designated MH-6s and AH-6s, respectively – are another good example of this. The MH-6s feature external planks on either side of the helicopter for personnel to ride on. The 160th is looking to replace around half of its MH-6/AH-6s with the winner of the FARA competition starting in the early 2030s.

One of the 160th’s MH-6s. This particular example has a mounted machine gun added to the personnel plank on the right side of the helicopter. USAF

With all this in mind, the modular external transport kit for the 360 Invictus could help the helicopter be more attractive to the Army in the context of the FARA competition. This is a box the other design in the running, Sikorsky’s Raider X, already ticks in a more built-in way. It can be configured with an internal passenger compartment, but only for six passengers, as is seen in the video below.

Walkaround of Sikorsky’s Raider X Compound Helicopter for US Army's FARA Contract at AUSA 21 thumbnail
Walkaround of Sikorsky’s Raider X Compound Helicopter for US Army's FARA Contract at AUSA 21

The pop-out passenger kit could increase the appeal of the 360 Invictus, or of variants or derivatives thereof, to other military forces, and special operations units in particular, too.

It is of course important to remember that the existence of a patent doesn’t necessarily mean that it will be acted on. At the same time, this is a very practical offering in its core concept and there is long-established interest in this kind of capability. It also highlights how the 360 Invictus’ central internal weapons bay could potentially be reconfigured to hold a range of other systems in the future, including additional sensors, electronic warfare suites, or communications arrays.

It is also worth noting that the conflict in Ukraine has underscored the vulnerability of traditional helicopters like the 360 Invictus to modern air defenses, including shoulder-fired surface-to-air missiles, also known as man-portable air defense systems (MANPADS). The U.S. military has been very open about the potential limitations it sees in the future employment of conventional helicopters, especially in potential high-end conflicts against near-peer adversaries like China.

Altogether, what the future holds for the 360 Invictus remains to be seen. However, the recently awarded external passenger system patent highlights how the helicopter might not be limited to just being an armed scout.

Contact the author: joe@thedrive.com

Joseph has been a member of The War Zone team since early 2017. Prior to that, he was an Associate Editor at War Is Boring, and his byline has appeared in other publications, including Small Arms Review, Small Arms Defense Journal, Reuters, We Are the Mighty, and Task & Purpose.