The loser to Lockheed’s YF-22 for the Advanced Tactical Fighter competition, Northrop’s YF-23, has turned into a mythical beast of sorts within military aviation circles. Not only do throngs of aficionados and analysts alike (and maybe even the Lockheed!) think it should have won that competition, but unsubstantiated rumors of a design based on it living in the clandestine realm, at least for some time, have propagated over the years. The truth is a bit more complex than just the YF-23 being the ‘perfect’ jet in retrospect—it too had advantages and disadvantages. But one of the YF-23’s most exotic design elements that has been largely overlooked was the way boundary layer air was separated from the YF-23’s fuselage before entering its air inlet and feeding its very air-thirsty next-generation turbofan engines.
Supercruise—the ability to fly for extended periods of time at supersonic speeds without the use of afterburner—was a key requirement of the ATF program. At the same time, so was low-observability (stealth). The goals of providing copious amounts of stable airflow to engines and an airframe that is hard to spot on radar can come in direct conflict with each other when it comes to designing a cutting-edge combat aircraft, and especially a super-fighter.

Elaborate ‘splitter plates’ and the designing of offsets that separate an air intake’s structure from the aircraft’s fuselage had been the norm for supersonic fighters prior to the ATF competition, but those concepts were not very conducive to stealth. Even a small gap between the intake and the fuselage can result in a radar cross-section increase where it matters most—from the aircraft’s forward hemisphere. Even the production F-22 design didn’t do away entirely with this feature, but Northrop’s YF-23 design did.


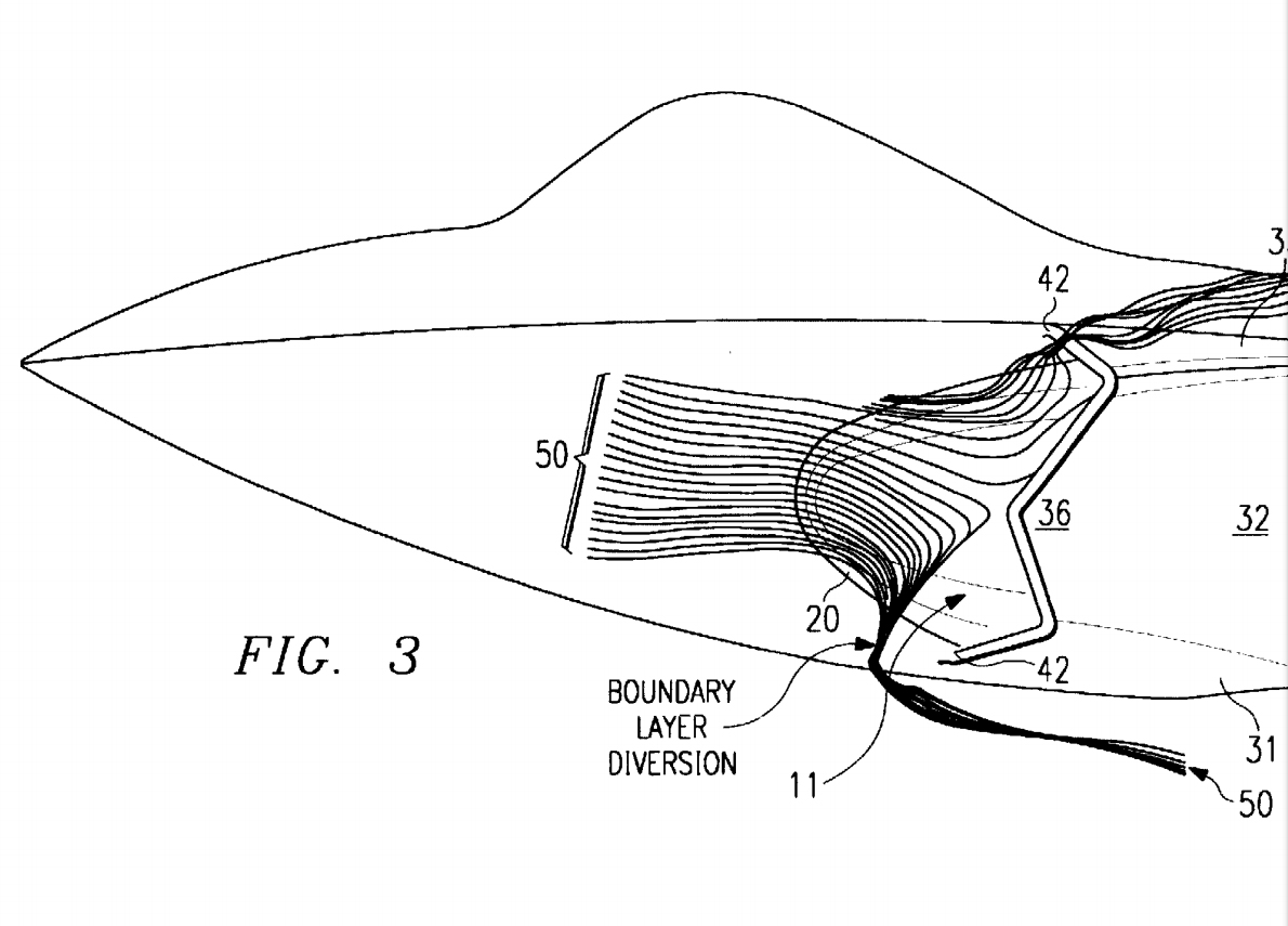
The issue has to do with boundary layer air that spreads around the aircraft’s fuselage as it flies. Boundary layer air can propagate at a different velocity and flow direction compared to the air that is offset from the aircraft’s surface and is freely gobbled up by the aircraft’s intakes. Mixing the two is far from ideal and can lead to large drops in engine efficiency, thrust instability, or worse. During certain regimes of flight, boundary layer air can become highly turbulent, largely impacting the engine’s performance or even suffocating it. The idea is to provide uniform airflow through the entire intake opening.
At supersonic speeds these issues are compounded. Other restrictions on stealth aircraft design—including the lack of variable geometry inlets, large bleed air doors, vents, and maneuvering ramps and cones used to slow down the air being ingested by the aircraft’s engines at supersonic speeds—makes providing huge volumes of stable air to high-power engines even more problematic. S-shaped air ducts not only hide highly reflective engine faces from radar waves but they also slow down the air enough during supersonic flight (up to around Mach 2) so that the engine can suck it down without shockwaves disturbing its operation. But this doesn’t solve the boundary layer issue.

So instead of creating separate intake structures with splitter gaps underneath the YF-23, Northrop installed ‘gauzing panels’ atop and ahead of where the fuselage meets the leading edge of the air intake. These panels had small holes drilled all over them and would ‘suck-up’ the boundary layer air ‘sticking to’ to the fuselage before it entered the air intake. This air was then vented out of a flush aperture and a pair of small doors on the YF-23’s upper surface. In effect, it acted like an invisible splitter plate of sorts but instead of separating the air it removed it. The system was called the Boundary Layer Control System and worked automatically.


As a result, the YF-23’s engine inlet design was incredibly simple. It didn’t ‘hang’ below the fuselage as a discrete structure, instead, its trapezoidal shape simply terminated into the lower fuselage itself. In this sense, it was very much a part of the fuselage. And considering there aren’t really any known major complaints about the F119 and F120 engines’ overall stability during YF-23 high-speed testing, this concept seemed to have worked well. The system may have even helped the YF-23 best the YF-22 is supercruise performance, as well.

You can clearly see these panels in photos of the YF-23, which some have wrongly attributed to an unpainted part or stealthy baffles of some sort.
Having holes drilled into splitter-plates wasn’t new. It had been done many times in the past to remove the boundary air that began to manifest itself on the plate itself before entering the engine. For instance, the Eurofighter EF2000 has this feature on its upper splitter plate that is easy to spot. The Super Hornet also uses it on the inside of its intakes. Older aircraft, like the F-4, also used perforations on their splitter plates to remove air clinging to the intake’s surface. But integrating a more refined version into the jet’s fuselage itself and eliminating the splitter plate or intake offset altogether was new.


You are probably wondering why we haven’t seen similar technology in other designs in the nearly three decades since the YF-23 took to the air. One major reason is the advent of the Diverterless Supersonic Inlet (DSI). This concept uses a forward swept intake design and a large hump-like structure blended with the fuselage of the aircraft to keep boundary layer air away from the inlet and to slow supersonic air entering the inlet to supersonic speeds.

The technology was successfully tested by Lockheed in 1996 with an F-16 acting as the test platform. The test concluded that the inlet had no adverse impact on engine operation could actually improve thrust during certain areas of the flight envelope. It could also reduce radar cross-section from the forward hemisphere by better obscuring the engine’s fan face.


Since then, the F-35 went on to leverage it as a key design element, as has China with their J-20 and J-31 stealth fighters aircraft and the most recent iterations of their J-10 and JF-17 fighters. In fact, there are some indications that Northrop may have been planning on integrating a DSI-like structure on their production example of the YF-23 if it had ever reached that state.



It isn’t clear just how the two concepts stack up to each other though. The DSI and S-shaped duct arrangement is known to limit high-speed flight to around Mach 1.6-2.0 depending on the design. This really isn’t an issue for modern fighters but it could be for an exotic design that is meant to reach higher sustained speeds, although skin heating issues begin to come into play then as well.
So there you have it, a little known exotic aspect of Northrop’s legendary YF-23 design, and another reason to sit back and wonder what could have been.
Author’s note: This is the first in a small series of articles that will explore lesser known aspects of the YF-23 in greater depth.
Contact the author: Tyler@thedrive.com