In the 64 years since its creation, the National Aeronautics and Space Administration (NASA) has pioneered a wide range of vehicle technologies that pushed the boundaries of engineering. While its high-flying designs would forever change both manned and unmanned flight, some of NASA vehicles were destined to live out their lives on the ground in support roles. One of the more curious of NASA’s ground-bound creations was an armored personnel carrier with a giant robotic arm on the front and a ton of other novel features, some of which were quite ahead of their time. It was dubbed the XHRV-1 and it was intended to be used in response to hazardous material emergencies, although that never really happened as planned.
NASA started using the M113 during the Apollo program as personnel carriers in which firefighters and rescue teams would stand by during manned launches. According to David Seymour, Battalion Chief with NASA’s Kennedy Space Center Fire Department, the space agency chose the M113 because the carrier is “virtually indestructible” and could provide protection for rescue teams in and out of the launch area in the event of emergencies. “We want to give the astronauts, close-out crew, and ice inspection team the comfort to know that when called we are going to be there no matter what happens,” Seymour said in a 2011 NASA feature.

NASA used two M113s during Space Shuttle launches at Kennedy Space Center. Inside one, a specialized firefighting team would be fully suited up with protective suits and air supplies, ready to deploy within seconds in the event of a launchpad emergency. A second M113 sat waiting close to an emergency bunker by the launchpad. If astronauts aboard the shuttle had to abort their mission and use emergency slidewire baskets to escape the shuttle stack as it sat on the pad, the second M113 would be waiting for them on the ground with its ramp down.
NASA owned four M113s for emergency use at Kennedy Space Center, but retired them in 2013, thankfully without ever having to use them in an actual emergency situation. The M113s were replaced by four Caiman Mine Resistant Ambush Protected vehicles, or MRAPs, which NASA modified by adding rear ramps to replace the original boarding ladders.

In addition to the four M113s used for rescue at Kennedy Space Center, NASA acquired a fifth M113 in 1994, more specifically an M113 variant known as the M577A3 Armored Command Post Vehicle. The M577A3 featured a longer body with a sixth roadwheel, a commander’s hatch, and no weapons mounts. This variant was designed primarily to serve as a mobile tactical operations center and saw use from the Vietnam War to the invasion of Iraq in 2003. Starting in 2020, the U.S. Army began the process of replacing the M577A3 with the Armored Multi-Purpose Vehicle, or AMPV.
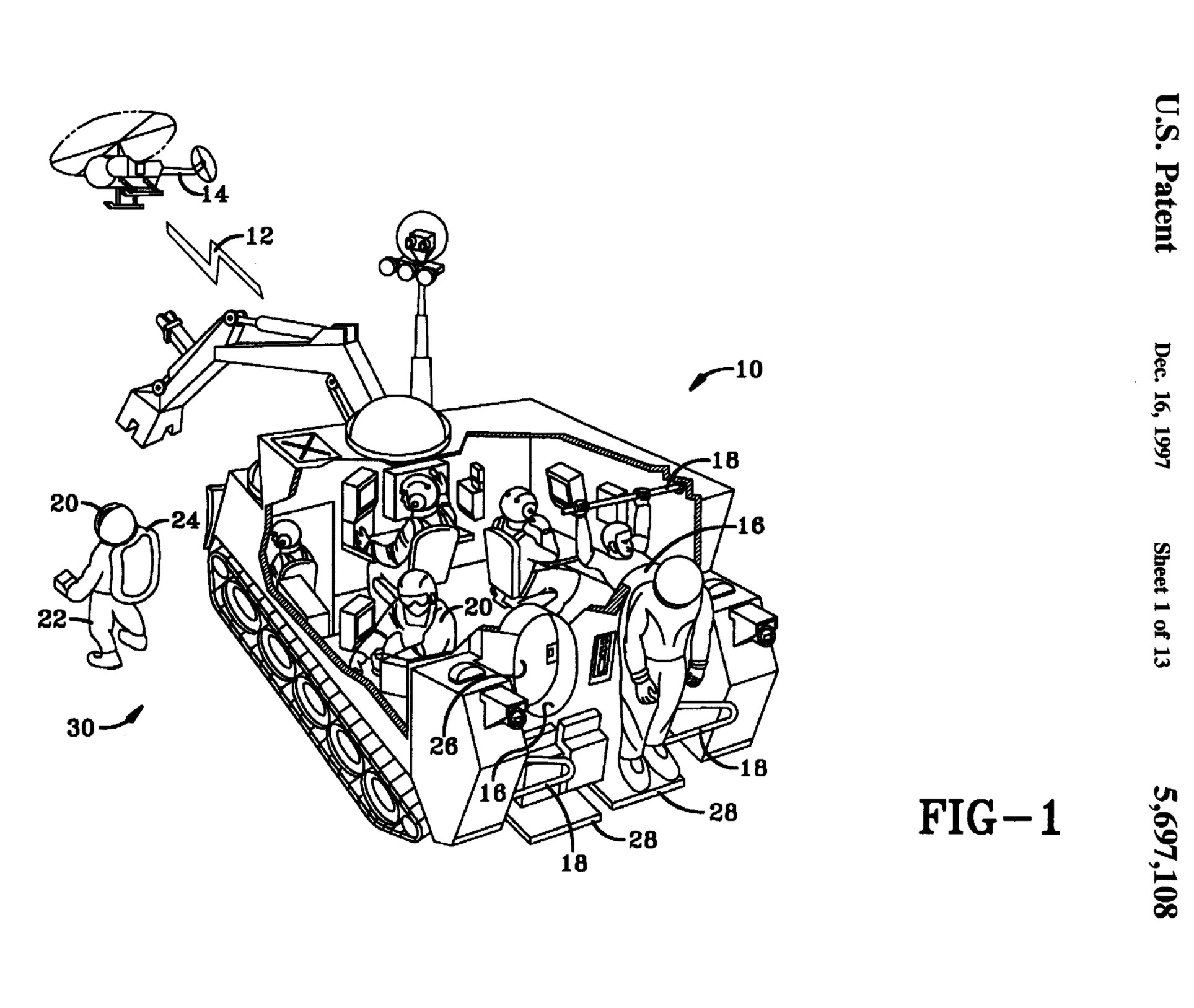
NASA acquired this fifth M113 with a special use in mind: hazardous materials response, or HAZMAT. To be able to more safely respond to incidents involving toxic, radioactive, or otherwise dangerous substances, NASA engineers at the Ames Research Center in California envisioned creating a specialized vehicle that could not only safely transport personnel in and out of HAZMAT areas, but also allow them to respond to these emergencies without ever leaving their vehicle. NASA called this program the eXperimental HAZMAT Response Vehicle, or XHRV-1.

The space agency handles many volatile and extremely dangerous substances, including those related to rocket fuels and propellants, but concept art from the XHRV-1 program shows that the vehicle was also envisioned as being able to assist law enforcement or public safety agencies in other scenarios such as nuclear powerplant malfunctions or terrorist attacks. There were many of these vehicles that were becoming obsolete in the military, so turning them into highly-specialized HAZMAT response vehicles with totally unique capabilities made some sense.

The XHRV-1 replaced the M577A3’s commander’s hatch with a clear polycarbonate dome, providing a near 360-degree view of the vehicle’s surroundings. The vehicle’s armor would provide protection from fires, explosions, or debris, while its continuous tank-style tracks would allow it to navigate very roughly terrain such as a collapsed building. An air-conditioning overpressure system would not only keep crews comfortable inside, but could also help prevent potentially contaminated outside air from entering the XHRV-1. This hardening against nuclear, biological, and chemical hazards (NBC) is a widely realized capability among armored combat systems.

One of the vehicle’s most unique features was its suitports, special rear hatches onto which safety suits could be mounted. These ports were designed to allow HAZMAT crew members to enter their suits directly from a vehicle, or exit their suits by sliding out backwards into the cabin once their remote work is done.


A 1996 patent for a suit docking mechanism assigned to NASA contains concept art of personnel entering and exiting their suits with the help of an overhead bar on which they could hold themselves up. In theory, the concept would allow crew to enter and exit the vehicle without ever being exposed to the air outside. It’s unknown how many crewmen the vehicle was designed to carry, but concept images depict up to six crewmembers for a single XHRV-1.

The second defining capability of the XHRV-1 was its front manipulator, a massive robotic arm with a 600-lb capacity and the ability to cut through obstacles. This was controlled from inside the vehicle’s cabin at an elaborate workstation. Closed-circuit video from multiple angles, including from the tip of the arm itself, would help the operator manipulate objects in their surroundings.
Concept art also showed that NASA had plans for a bulldozer blade for the XHRV-1, but that feature does not appear in the few images of the XHRV-1 prototype. There were also plans for a “robot helicopter,” what we today would call a drone, although it seems this feature was never added in the one XHRV-1 built. Still, this was wildly ahead of its time. Equipping individual armored vehicles with their own drones is just now becoming a very hot trend.

Ultimately, the XHRV-1 would never go on to operational use, and the prototype built by Ames was stripped of its manipulator arm and bubble dome before being sent off for disposal. A military history preservation non-profit, the Eagle Field Foundation, would eventually repaint the XHRV-1 olive drab green and display it as an example of a vintage military medical vehicle.

Fast forward to today and unmanned robots fulfill some of the same types of tasks the XHRV-1 was designed to, further keeping emergency responders out of harm’s way. Yet the XHRV-1 was truly a charismatic, sci-fi-like vehicle that seemed more like something a kid would draw than something real. In some ways, it was maybe ahead of its time. As such, the obscure armored vehicle deserves a special place in the annals of NASA history.
Author’s note: Special thanks to Tanks-Encyclopedia.com who had great info on this obscure armored vehicle.
Contact the author: Brett@TheDrive.com