More than two years after The War Zone
was first to report on a mysterious bullet-shaped aircraft appearing at the Southern California Logistics Airport near Victorville, a refined version of the plane has conducted taxi tests and looks to be getting close to its first flight. Even though much about its design and purpose remain unclear, we do know now that the aircraft, which is called the Otto Aviation Celera 500L, is definitely focused on potentially game-changing high-efficiency flight that has the potential to disrupt the aerospace marketplace.
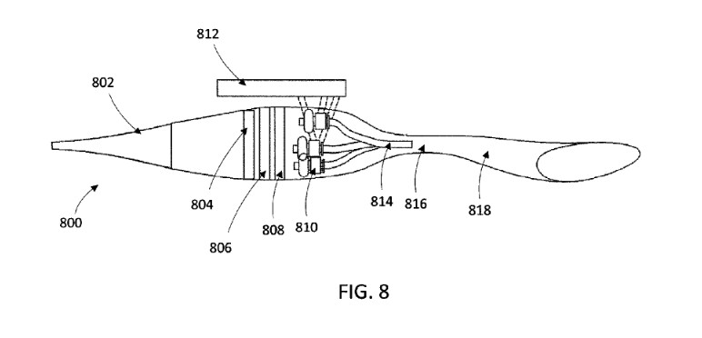
In January 2019, new pictures of the pusher-propeller Celera 500L, which carries the U.S. civil registration code N818WM, emerged showing it in a markedly more mature state than what we had seen in the past. The plane now has winglets at the tips of both wings, but it’s not clear if the wings themselves are entirely new. The aircraft also had a black propeller in place of the earlier white one and an aerodynamic spinner over the propeller hub. There’s also a much better view of the trapeze-like landing gear assemblies, which are of the general style found in patent documents that Otto Aviation has submitted relating to a number of the aircraft’s features.
In addition, as compared to earlier images, the aircraft finally has conformal cowlings fitted in place over its rear-mounted engine compartment. Each one features a single large air intake and an exhaust port.


For comparison, below you can see a picture of the Celera 500L as it existed in June 2017.

In May of 2019, NASA pilot and photographer Scott Howe also spotted the Celera 500L doing high-speed taxi tests at the Southern California Logistics Airport as he flew by. This further supports the assessment that the aircraft is getting closer to a first flight.
Beyond what we can see, there’s still limited information about the aircraft’s specifications or even its manufacturer, Otto Aviation Group, which has been operating virtually in secret on this project for around a decade. In April 2019, there was a public notice about the company renewing its lease on space at the Southern California Logistics Airport. Beyond that, the patent documents do lay out a case for disrupting traditional ‘hub-and-spoke’ commercial aviation models and offering improved efficiency in aircraft performance to, in turn, reduce inefficiencies in passenger air travel.
“Such a transportation system requires a unique aircraft. It must be capable of operation from any current airfield,” one of the patent documents says in its background section. “Preferably, it would have operating costs well below current costs and competitive with commercial airliners, cruise at higher system speed than current commercial aircraft, have a longer range with full passenger and luggage load than most current business aircraft, provide passenger comfort comparable to commercial aircraft, and be capable of all weather operation. The plane should also provide for ease of maintenance and require only a single pilot.”
The patent goes on to describe a notional aircraft that would cruise between 460 and 510 miles per hour at an altitude of up to 65,000 feet, yielding a fuel efficiency rate of between 30 and 42 miles per gallon. To put this in perspective, the Pilatus PC-12, a popular light, single-engine turboprop aircraft has a service ceiling of 30,000 feet, a cruising speed just under 330 miles per hour, and still burns, on average, 66 gallons of jet fuel per hour, for a fuel economy of roughly five miles to the gallon. Even going to a Learjet 70, which has similar speed performance to what’s stated in the Celera patent documents, but still nowhere near as high a ceiling, we are talking about roughly three miles per gallon of gas at cruise. So, Otto Aviation is talking about performance that is at least
10 times more efficient than existing light business jets with similar cruise capabilities.
New information in the plane’s public profile on the Federal Aviation Administration website offers clues as to how the Celera 500L expects to offer this revolutionary new capability. Most importantly, FAA says that the aircraft’s airworthiness was approved in February 2019 and that it uses the Raikhlin Aircraft Engine Developments (RED) A03 V12 engine.

It is unclear from the available information whether the Celera 500L uses one or two A03 engines. The FAA’s profile describes the aircraft as a “single engine,” but patent documents had described two engines driving a single propeller. Of course, they had also said these would be diesel engines with multi-stage turbochargers and intercoolers, the latter of which redirect heat to improve efficiency and keep the entire system cool while the former would theoretically provide enough power even at very high altitudes where super-efficient flight can be realized.
The engine type and configuration may not be final, either. Otto Aviation has been working on the aircraft for nearly a decade already and it is clear the company has been considering different engine arrangements in that time. A source has told The War Zone that a single V8 engine from now-defunct TRACE Engines was originally supposed to power the aircraft via a reduction drive. TRACE’s engine was derived from the high-efficiency OE600 design, which another company, Orenda, had first begun work on in the 1990s.
RED promotes its A03, a kerosene-powered 500-horsepower water-cooled design, which also uses a multi-stage turbocharger, as offering high fuel efficiency, low fuel consumption, and excellent reliability with limited maintenance as compared to more traditional piston engines with similar horsepower ratings. The German company also says it can configure the engine itself for “optimal” performance in “close cooperation with the airframe manufacture [sic; manufacturer].” Initial flight testing of the engine began in 2012 using a modified Yakovlev Yak-52 aircraft and the A03 received European Aviation Safety Agency approval in 2014. The engine is now set to power the new Yak-152, which the Russian Air Force plans to purchase as replacements for its Yak-52s.
One of Otto Aviation’s patents also says that the intakes and exhausts we mentioned before are supposed to help leverage this engine design to provide even greater efficiency. The exhaust setup is also supposed to include a novel heat exchanger that combines heated cooling air with exhaust gases provide a small additional boost in thrust. It all remains to be seen whether or not the combination of an A03 optimized for the Celera 500L specifically, together with intercoolers and specialized exhausts, will be enough to get the plane anywhere close to the kind of high-altitude performance Otto is clearly aiming for broadly.

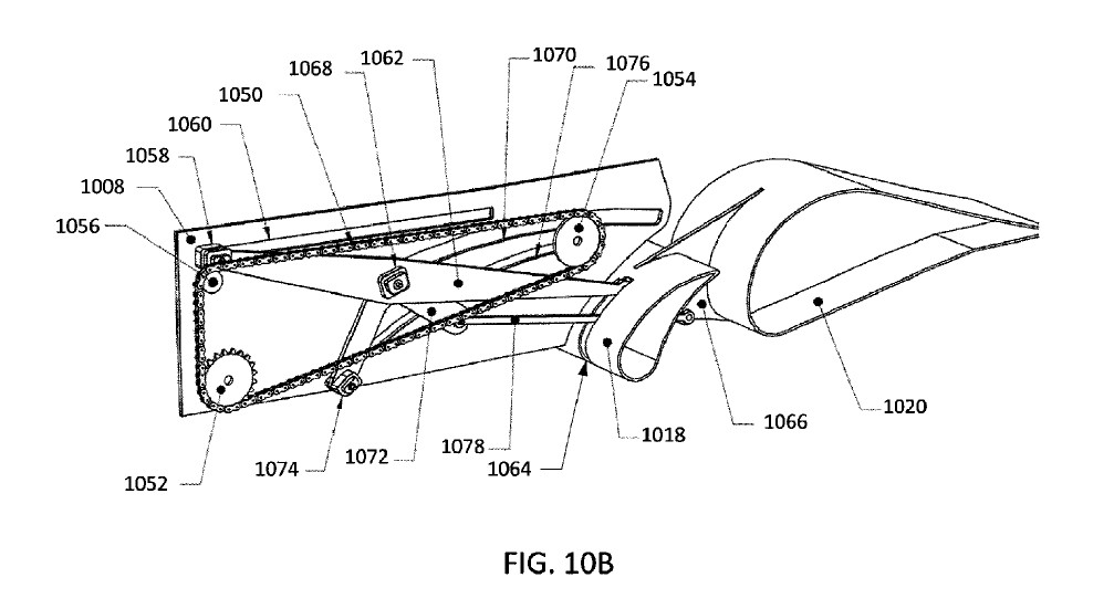
The Celera 500L’s other design features are certainly also meant to help with highly efficient flight, including its teardrop fuselage which offers aerodynamic efficiency while maintaining a large internal volume. Schematics and other details in the patent describe the use of composite materials and a single primary center spar for structural stability, all of which helps keep the aircraft light, too.
It’s not clear from the pictures available what the final wing configuration might look like, but those same patents indicate that Otto Aviation has been working on an advanced, multi-part flap arrangement. This could give the Celera 500L acceptable takeoff characteristics from smaller runways—as short as 3,000 feet—while still offering optimal efficiency in other flight regimes, including high-altitude flight. This is something that would be extremely valuable for commercial aviation applications since the aircraft could operate from small airports and still retain the ability to conduct non-stop flights to destinations a significant distance away.


All told, it’s not clear whether Otto Aviation expects the Celera 500L design to actually serve as the basis for a new kind of passenger aircraft design or whether it is more of a technology testbed to prove certain parts of a future aircraft. But the patent drawings do show a similarly sized version with passenger windows and what appears to be a side-mounted emergency exit. It’s still hard to say for sure given the remarkable amount of secrecy surrounding the aircraft.

Regardless, by all indications, Otto Aviation is working on what could be a very exciting and potentially revolutionary design. Being able to fly direct to smaller airfields near one’s destination on smaller aircraft at a very low cost could open up private-like air travel to the masses.
With taxi tests already underway, and possibly complete, a first flight could be just around the corner. We will definitely be keeping a close eye out for when the bullet-shaped aircraft takes to the skies for the first time, which will hopefully lead to more information about just what it can really do.
Contact the author: Tyler@thedrive.com